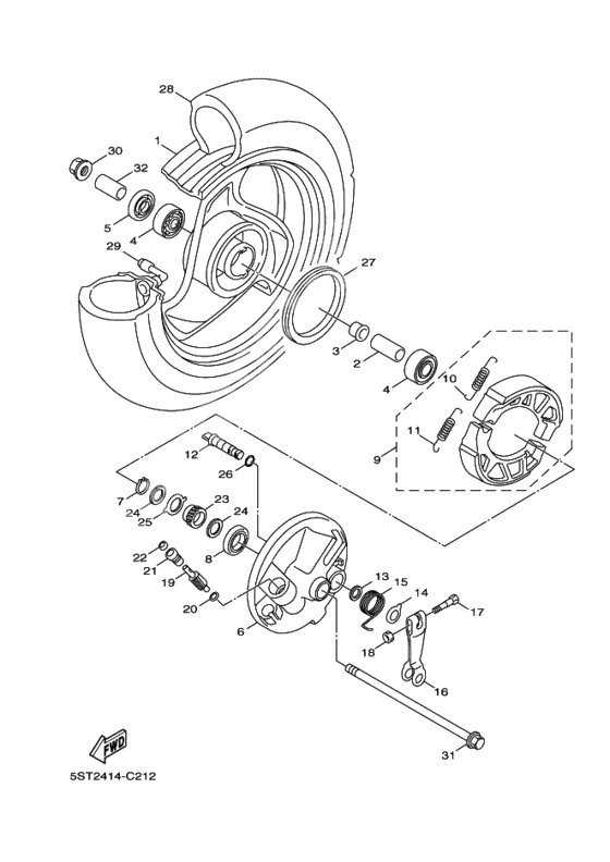
Front wheel
Front wheel
Wheel Comp (Ref #1)
1
Part #5ST-F5180-10-35
SPACER (Ref #2)
2
Part #90560-10103-00
Flange, Spacer 1 (Ref #3)
3
Part #20A-F5115-00-00
BEARING (Ref #4)
4
Part #93306-300Y4-00
BEARING (Ref #4)
4
Part #93306-300Y4-00
BEARING (Ref #4)
4
Part #93306-300Y4-00
BEARING (Ref #4)
4
Part #93306-300Y4-00
Oil seal (Ref #5)
5
Part #93106-20001-00
Plate, Brake Shoe (Ref #6)
6
Part #5ST-F5121-00-35
Circlip (Ref #7)
7
Part #99009-20400-00
Oil seal (Ref #8)
8
Part #93102-40830-00
Brake Shoe Kit (Ref #9)
9
Part #5XN-W253A-01-00
Пружина натяжения (Ref #10)
10
Part #90506-12001-00
Пружина натяжения (Ref #11)
11
Part #90506-15001-00
CAMSHAFT (Ref #12)
12
Part #5ST-F5151-00-00
Washer, Needle Valve (Ref #13)
13
Part #93109-14021-00
Plate, Indicator (Ref #14)
14
Part #5SU-F533A-01-00
Spring, Pilot Adjusting (Ref #15)
15
Part #90508-28800-00
Рукоятка, распредвал 1 (Ref #16)
16
Part #5ST-F5155-00-00
BOLT (Ref #17)
17
Part #90101-06819-00
Nut, flange (Ref #18)
18
Part #95317-06600-00
Gear, Meter (Ref #19)
19
Part #5ST-F5138-00-00
Washer, Plate (Ref #20)
20
Part #90201-07076-00
GROMMET (Ref #21)
21
Part #3N2-F5136-00-00
Oil seal (Ref #22)
22
Part #93104-07803-00
Gear, Drive (Ref #23)
23
Part #5ST-F5135-00-00
Washer, Plate (Ref #24)
24
Part #90201-20269-00
Washer, Plate (Ref #24)
24
Part #90201-20269-00
Washer, Plate (Ref #24)
24
Part #90201-20269-00
Washer, Plate (Ref #24)
24
Part #90201-20269-00
Clutch, Meter (Ref #25)
25
Part #183-25149-00-00
Washer, Needle Valve (Ref #26)
26
Part #93210-14579-00
Ring 2 (Ref #27)
27
Part #3XG-F5336-01-00
Tire (90/90-10 41J C922) (Ref #28)
28
Part #94109-10807-00
Клапан, обод колеса (Ref #29)
29
Part #93900-00041-00
Гайка, самоблокирующаяся (Ref #30)
30
Part #90185-10801-00
Ось колеса (Ref #31)
31
Part #3XG-F5181-00-00
COLLAR (Ref #32)
32
Part #90387-10806-00
-
254X6-F5149-00-00
Clutch, Meter
1Replaced by 183-25149-00-00 Доступно: Нет в наличии
-
2693210-14805-00
Washer, Needle Valve
1Replaced by 93210-14579-00 Доступно: Нет в наличии
-
2993900-00802-00
Клапан, обод колеса
1Replaced by 93900-00041-00 Доступно: Нет в наличии
