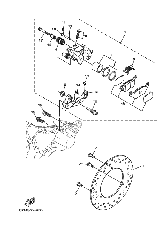
Задний тормозной суппорт
Задний тормозной суппорт
Disk, Rear Brake 2 (Ref #1)
1
Part #B74-F582W-00-00
Caliper Assy, Rear 2 (Ref #3)
3
Part #B74-F580W-00-00
Piston Assy, Caliper (Ref #4)
4
Part #1WD-F5802-50-00
Caliper Seal Kit (Ref #5)
5
Part #1WD-F5803-50-00
Уплотнение (Ref #6)
6
Part #5YP-F5917-00-00
Ботинок (Ref #7)
7
Part #34X-25937-00-00
Bleed Screw Kit (Ref #8)
8
Part #15B-W0048-00-00
Палец (Ref #10)
10
Part #1WD-F5924-50-00
Стопор (Ref #11)
11
Part #5YP-F5925-01-00
Стопор (Ref #11)
11
Part #5YP-F5925-01-00
Стопор (Ref #11)
11
Part #5YP-F5925-01-00
Стопор (Ref #11)
11
Part #5YP-F5925-01-00
Bracket, support (Ref #12)
12
Part #B74-F5921-50-00
Скоба (Ref #13)
13
Part #1WD-F5939-50-00
Скоба (Ref #14)
14
Part #1WD-F5939-60-00
Brake Pad Kit 2 (Ref #15)
15
Part #B74-F5806-00-00
Палец (Ref #16)
16
Part #1WD-F5914-50-00
BOLT (Ref #17)
17
Part #5KN-25926-01-00
Втулка (Ref #18)
18
Part #5TL-F5838-00-00
BOLT (Ref #19)
19
Part #958-17100-30-00
BOLT (Ref #19)
19
Part #958-17100-30-00
BOLT (Ref #19)
19
Part #958-17100-30-00
BOLT (Ref #19)
19
Part #958-17100-30-00
-
4C9-W0048-00-00
Штуцер с колпачком
0Replaced by B74-F5919-50-00 Доступно: Нет в наличии
-
290111-08087-00
Bolt,hex. Socket But
3Replaced by 90111-08084-00 Доступно: Нет в наличии
-
85YP-W0048-50-00
Штуцер с колпачком
1Replaced by 15B-W0048-00-00 Доступно: Нет в наличии
