Электрооборудование 3
Электрооборудование 3
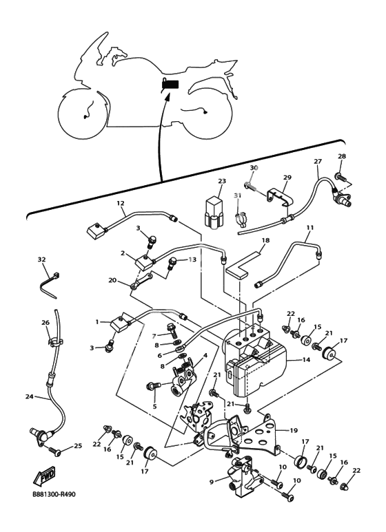
Трубка тормозная (Ref #1)
1
Part #3P6-25871-10-00
Трубка тормозная 2 (Ref #2)
2
Part #3P6-25882-20-00
BOLT (Ref #3)
3
Part #95022-06025-00
BOLT (Ref #3)
3
Part #95022-06025-00
BOLT (Ref #3)
3
Part #95022-06025-00
BOLT (Ref #3)
3
Part #95022-06025-00
Клапан (Ref #4)
4
Part #3P6-25940-00-00
BOLT (Ref #5)
5
Part #95817-06030-00
Трубка тормозная 4 (Ref #6)
6
Part #3P6-2588A-10-00
Болт-штуцер (Ref #7)
7
Part #90401-10020-00
Washer, Needle Valve (Ref #8)
8
Part #90430-10005-00
Washer, Needle Valve (Ref #8)
8
Part #90430-10005-00
Washer, Needle Valve (Ref #8)
8
Part #90430-10005-00
Washer, Needle Valve (Ref #8)
8
Part #90430-10005-00
Клапан выравнивающий (Ref #9)
9
Part #3P6-25884-00-00
Болт (Ref #10)
10
Part #92012-06040-00
Болт (Ref #10)
10
Part #92012-06040-00
Болт (Ref #10)
10
Part #92012-06040-00
Болт (Ref #10)
10
Part #92012-06040-00
Трубка тормозная 5 (Ref #11)
11
Part #3P6-2588B-00-00
Трубка тормозная 3 (Ref #12)
12
Part #3P6-25883-20-00
Блок гидравлический, ABS (Ref #14)
14
Part #1MC-85930-09-00
Защита (Ref #18)
18
Part #3P6-2117G-00-00
Крепление блока (Ref #19)
19
Part #3P6-2175T-10-00
Крепление трубки (Ref #20)
20
Part #3P6-2172E-00-00
Разъем (Ref #23)
23
Part #3YA-82378-00-00
Датчик ABS передний (Ref #24)
24
Part #3P6-85970-10-00
Болт (Ref #25)
25
Part #92012-06012-00
CLAMP (Ref #26)
26
Part #90464-14003-00
Датчик ABS задний (Ref #27)
27
Part #3P6-85980-10-00
Крепление кабеля (Ref #29)
29
Part #3P6-86159-00-00
Болт (Ref #30)
30
Part #90105-05014-00
CLAMP (Ref #31)
31
Part #90464-12013-00
CLAMP (Ref #32)
32
Part #80L-26397-00-00
