Задний тормозной цилиндр
Задний тормозной цилиндр
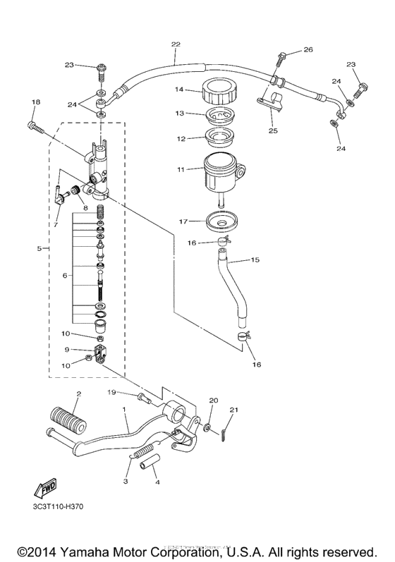
Педаль тормоза (Ref #1)
1
Part #2D1-27211-00-00
Крышка педали (Ref #2)
2
Part #5EB-18113-00-00
Пружина (Ref #3)
3
Part #90506-20014-00
Трубка (Ref #4)
4
Part #90446-15386-00
Цилиндр тормозной в сборе (Ref #5)
5
Part #2D1-2583V-00-00
Детали тормозного цилиндра, комплект (Ref #6)
6
Part #5VX-W0042-51-00
Штуцер (Ref #7)
7
Part #2D1-2582A-00-00
Кольцо уплотнительное (Ref #8)
8
Part #4BP-2585F-01-00
Наконечник толкателя гидроцилиндра (Ref #9)
9
Part #4BP-27222-02-00
Гайка (Ref #10)
10
Part #90170-08010-00
Гайка (Ref #10)
10
Part #90170-08010-00
Гайка (Ref #10)
10
Part #90170-08010-00
Гайка (Ref #10)
10
Part #90170-08010-00
Бачок тормозной жидкости (Ref #11)
11
Part #2D1-25894-00-00
Diaphragm, Reservoir (Ref #12)
12
Part #5SL-25854-00-00
Втулка диафрагмы (Ref #13)
13
Part #5SL-25855-00-00
Стакан резервуара (Ref #14)
14
Part #5SL-25852-00-00
Трубка (Ref #15)
15
Part #2D1-25895-00-00
Хомут (Ref #16)
16
Part #90467-120A3-00
Хомут (Ref #16)
16
Part #90467-120A3-00
Хомут (Ref #16)
16
Part #90467-120A3-00
Хомут (Ref #16)
16
Part #90467-120A3-00
Уплотнение (Ref #17)
17
Part #5D0-2583H-00-00
Болт (Ref #18)
18
Part #92014-08020-00
Палец (Ref #19)
19
Part #90240-08005-00
Шайба (Ref #20)
20
Part #90201-08066-00
. PIN (Ref #21)
21
Part #91490-20025-00
Шланг тормозной (Ref #22)
22
Part #2D1-25874-00-00
Болт соединяющий (Ref #23)
23
Part #90401-10172-00
Болт соединяющий (Ref #23)
23
Part #90401-10172-00
Болт соединяющий (Ref #23)
23
Part #90401-10172-00
Болт соединяющий (Ref #23)
23
Part #90401-10172-00
Крепление шланга (Ref #25)
25
Part #2D1-25886-00-00
Болт с шайбой (Ref #26)
26
Part #90119-05021-00
