Rear master cylinder
Rear master cylinder
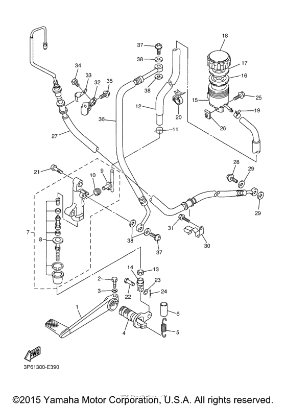
Педаль тормоза (Ref #1)
1
Part #5JW-27211-00-00
Болт (Ref #2)
2
Part #90109-06468-00
Washer, Plate (Ref #3)
3
Part #929-90066-00-00
Shaft, brake pedal (Ref #4)
4
Part #5JW-27212-01-00
Пружина натяжения (Ref #5)
5
Part #90506-25001-00
HOSE (Ref #6)
6
Part #90446-17346-00
Цилиндр тормозной (Ref #7)
7
Part #3P6-2583V-00-00
Детали тормозного цилиндра, комплект (Ref #8)
8
Part #3P6-W0042-00-00
Штуцер (Ref #9)
9
Part #5VS-2582A-00-00
Кольцо уплотнительное (Ref #10)
10
Part #4BP-2585F-01-00
Хомут (Ref #11)
11
Part #90467-090A0-00
Трубка (Ref #12)
12
Part #3P6-25895-00-00
Гайка (Ref #13)
13
Part #90170-08010-00
Толкатель поршня гидроцилиндра (Ref #14)
14
Part #5SL-27222-00-00
Бачок тормозной жидкости (Ref #15)
15
Part #3P6-25894-00-00
Диафрагма (Ref #16)
16
Part #5VY-25854-00-00
Втулка (Ref #17)
17
Part #5VY-25855-00-00
Крышка (Ref #18)
18
Part #5VY-25852-00-00
CLAMP (Ref #20)
20
Part #90464-15192-00
Screw, Pan Head (Ref #21)
21
Part #92017-08030-00
Палец (Ref #22)
22
Part #91701-06018-00
Washer, Plate (Ref #23)
23
Part #92907-06200-00
Шплинт (Ref #24)
24
Part #91490-16020-00
BOLT (Ref #25)
25
Part #90109-05007-00
Гайка (Ref #26)
26
Part #90183-050A6-00
Hose, Brake 5 (Ref #27)
27
Part #3P6-2581K-01-00
Болт-штуцер (Ref #28)
28
Part #90401-10020-00
Washer, Needle Valve (Ref #29)
29
Part #90430-10005-00
Washer, Needle Valve (Ref #29)
29
Part #90430-10005-00
Washer, Needle Valve (Ref #29)
29
Part #90430-10005-00
Washer, Needle Valve (Ref #29)
29
Part #90430-10005-00
Крепление шланга 2 (Ref #30)
30
Part #3P6-25876-10-00
BOLT (Ref #31)
31
Part #95027-06010-00
Крепление шланга 5 (Ref #32)
32
Part #3P6-2588F-00-00
Крепление шланга 6 (Ref #33)
33
Part #5VS-2588G-00-00
BOLT (Ref #35)
35
Part #901-0508X-15-00
-
45JW-27212-00-00
Shaft, brake pedal
1Replaced by 5JW-27212-01-00 Доступно: Нет в наличии
-
104BP-2585F-00-00
Washer, Needle Valve
1Replaced by 4BP-2585F-01-00 Доступно: Нет в наличии
