Задняя подвеска
Задняя подвеска
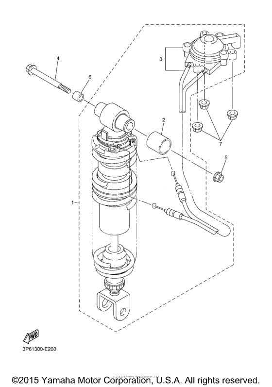
Shock Absorber Assy, Rear (Ref #1)
1
Part #3P6-22210-10-00
Втулка амортизатора (Ref #2)
2
Part #5JW-22216-00-00
Control Panel Assy (Ref #3)
3
Part #3P6-22460-00-00
BOLT (Ref #4)
4
Part #90101-12755-00
Гайка самоконтрящаяся (Ref #5)
5
Part #95602-12200-00
Втулка (Ref #6)
6
Part #90387-12028-00
Гайка, самоблокирующаяся (Ref #7)
7
Part #95604-06200-00
-
795602-06200-00
Nut, Self-Locking
3Replaced by 95604-06200-00 Доступно: Нет в наличии
