Seat
Seat
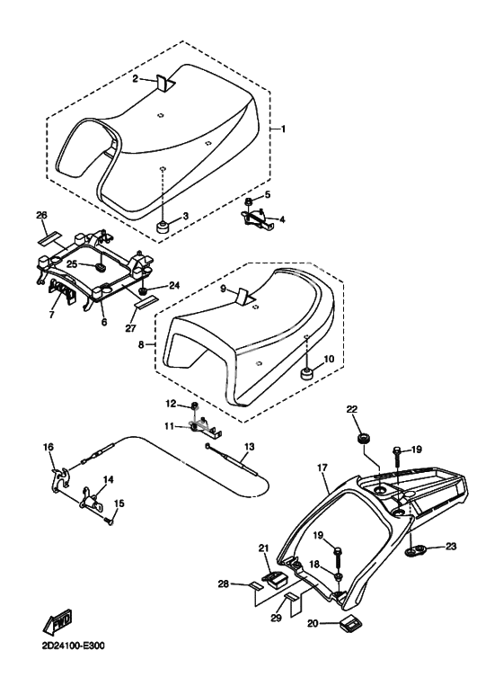
Одноместное сиденье (Ref #1)
1
Part #3P6-24710-00-00
PLATE, SEAL DAMPER (Ref #2)
2
Part #3P6-2470F-00-00
Демпфер (Ref #3)
3
Part #5JW-24741-00-00
Фиксатор замка сиденья (Ref #4)
4
Part #3P6-24780-00-00
Nut, flange (Ref #5)
5
Part #95780-06500-00
Рамка зацепа (Ref #6)
6
Part #3P6-24708-00-00
Фиксатор (Ref #7)
7
Part #3P6-24768-00-00
Tandem Seat Assy (Ref #8)
8
Part #3P6-24750-00-00
PLATE, SEAL DAMPER (Ref #9)
9
Part #3P6-2470H-00-00
Замок сиденья (исполнительный механизм) (Ref #11)
11
Part #4BP-24780-00-00
Кабель замка сиденья (Ref #13)
13
Part #3P6-2478E-00-00
Защелка сиденья (Ref #14)
14
Part #3CK-W2470-00-00
BOLT (Ref #15)
15
Part #90149-06308-00
Stay, Lock (Ref #16)
16
Part #5JW-2117K-00-00
Handle, Seat (Ref #17)
17
Part #3P6-24773-01-P0
Втулка (Ref #18)
18
Part #90387-09012-00
BOLT (Ref #19)
19
Part #95024-08030-00
BOLT (Ref #19)
19
Part #95024-08030-00
BOLT (Ref #19)
19
Part #95024-08030-00
BOLT (Ref #19)
19
Part #95024-08030-00
Демпфер (Ref #20)
20
Part #3P6-24723-10-00
Демпфер (Ref #21)
21
Part #3P6-24724-10-00
GROMMET (Ref #22)
22
Part #90480-28191-00
Демпфер (Ref #23)
23
Part #3P6-24747-00-00
GROMMET (Ref #24)
24
Part #90480-13567-00
GROMMET (Ref #25)
25
Part #90480-01558-00
Label, caution (Ref #26)
26
Part #3JJ-28446-A1-00
Наклейка предупредительная (Ref #27)
27
Part #3JJ-28446-B1-00
Наклейка предупредительная (Ref #28)
28
Part #3TB-24877-A0-00
Label, Caution (Ref #29)
29
Part #3TB-24877-B1-00
-
142TV-W2470-00-00
Защелка сиденья
1Replaced by 3CK-W2470-00-00 Доступно: Нет в наличии
-
293TB-24877-B0-00
Label, caution
1Replaced by 3TB-24877-B1-00 Доступно: Нет в наличии
