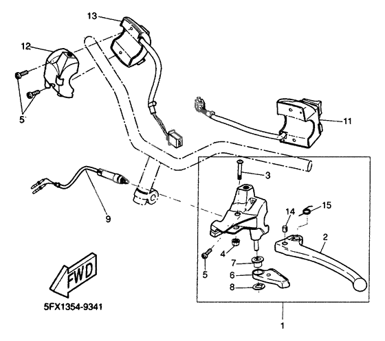
Commutateurs et levier

Commutateurs et levier

Commutateurs et levier
+ -
  • 01
    4SB-H2910-10-00

    Emblem

    1
    Доступно: Нет в наличии
  • 02
    4SB-H3912-10-00

    Lever 1

    1
    Доступно: Нет в наличии
  • 03
    3VL-H3915-00-00

    Винт

    1
    Доступно: Нет в наличии
  • 04
    3VL-H3916-00-00

    Гайка

    1
    Доступно: Нет в наличии
  • 05
    3VL-H3945-00-00

    Болт

    4
    Доступно: Нет в наличии
  • 06
    4SB-H3941-00-00

    Handle, Starter

    1
    Доступно: Нет в наличии
  • 07
    3VL-H3982-00-00

    Collar, Decompression

    1
    Доступно: Нет в наличии
  • 08
    3VL-H3943-00-00

    Шайба стартера

    1
    Доступно: Нет в наличии
  • 09
    5AD-H3980-01-00

    Stop Switch Asy

    1
    Replaced by 5XL-H3980-00-00 Доступно: Нет в наличии
  • 09
    5XL-H3980-00-00

    Stop Switch Asy

    1
    Доступно: Нет в наличии
  • 11
    5JH-H3976-03-00

    Переключатель 1

    1
    Доступно: Нет в наличии
  • 11
    5JH-H3976-00-00

    Кнопка

    1
    Replaced by 5JH-H3976-03-00 Доступно: Нет в наличии
  • 12
    4CU-H3987-01-00

    Case, Switch Lower

    1
    Доступно: Нет в наличии
  • 13
    5JH-H3975-00-00

    Кнопка

    1
    Доступно: Нет в наличии
  • 14
    3VL-F636A-00-00

    End, Wire 1

    1
    Доступно: Нет в наличии
  • 15
    3VL-H3929-00-00

    Плата пружины

    1
    Доступно: Нет в наличии
  • 15
    4KH-H3962-00-00

    Пружина

    1
    Доступно: Нет в наличии