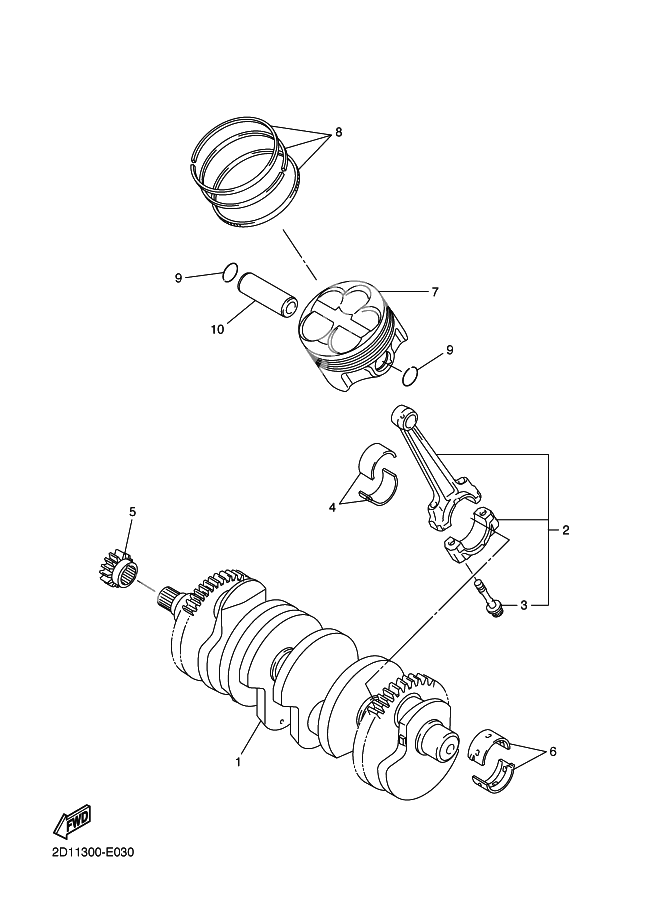
CRANKSHAFT AND PISTON
CRANKSHAFT AND PISTON
CRANKSHAFT (Ref #1)
1
Part #2D1-11411-00
Connecting Rod Assy (Ref #2)
2
Part #4C8-11650-00
. BOLT, CONNECTING ROD (Ref #3)
3
Part #5VY-11654-01
プレーンベアリング,コンロツド (Ref #4)
4
Part #2D1-11656-20
プレーンベアリング,コンロツド (Ref #4)
4
Part #2D1-11656-10
プレーンベアリング,コンロツド (Ref #4)
4
Part #2D1-11656-00
プレーンベアリング,コンロツド (Ref #4)
4
Part #2D1-11656-30
スプロケツト,カムチエーン (Ref #5)
5
Part #5VY-11549-00
BEARING, THRUST 1 (Ref #6)
6
Part #5VY-11416-10
BEARING, THRUST 1 (Ref #6)
6
Part #5VY-11416-00
BEARING, THRUST 1 (Ref #6)
6
Part #5VY-11416-A0
BEARING, THRUST 1 (Ref #6)
6
Part #5VY-11416-20
BEARING, THRUST 1 (Ref #6)
6
Part #5VY-11416-30
PISTON (STD) (Ref #7)
7
Part #5VY-11631-10
PISTON RING SET (STD) (Ref #8)
8
Part #5VY-11603-01
Circlip (Ref #9)
9
Part #93450-18157
Circlip (Ref #9)
9
Part #93450-18157
Circlip (Ref #9)
9
Part #93450-18157
Circlip (Ref #9)
9
Part #93450-18157
Pin, piston (Ref #10)
10
Part #5VY-11633-00
