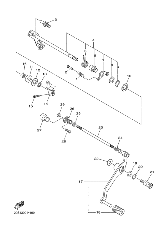
Вал переключения
Вал переключения
Пружина (Ref #1)
1
Part #905-06150-05-00
Винт (Ref #2)
2
Part #132-16346-00-00
Болт-фиксатор (Ref #3)
3
Part #5VK-18127-00-00
Shift Shaft Assy (Ref #4)
4
Part #20S-18101-02-00
Пружина (Ref #5)
5
Part #905-08321-41-00
Втулка (Ref #6)
6
Part #2C0-18175-00-00
Рычаг (Ref #7)
7
Part #20S-18140-00-00
Washer, Plate (Ref #8)
8
Part #90201-177G4-00
Circlip (Ref #9)
9
Part #93410-17X00-00
Washer, Plate (Ref #10)
10
Part #90201-125L6-00
Oil seal (Ref #11)
11
Part #931-02123-21-00
Шайба (Ref #12)
12
Part #90201-12575-00
Circlip (Ref #13)
13
Part #99006-10600-00
Рычаг (Ref #14)
14
Part #20S-18112-00-00
Болт диагональный (Ref #15)
15
Part #91314-06020-00
Подшипник (Ref #16)
16
Part #93317-11295-00
Педаль переключения (Ref #17)
17
Part #20S-18110-01-00
Крышка педали (Ref #18)
18
Part #5EB-18113-00-00
Шайба (Ref #19)
19
Part #902-01120-51-00
Шайба волнистая (Ref #20)
20
Part #90206-12074-00
BOLT (Ref #21)
21
Part #4BP-27434-11-00
Шайба (Ref #22)
22
Part #90201-08053-00
Тяга (Ref #23)
23
Part #3D8-18115-00-00
Гайка (Ref #24)
24
Part #901-70060-26-00
Гайка (Ref #25)
25
Part #953-14067-00-00
Наконечник тяги (Ref #26)
26
Part #5VX-18116-00-00
Колпачок (Ref #27)
27
Part #5VX-18154-00-00
Болт (Ref #28)
28
Part #92012-06020-00
Втулка (Ref #29)
29
Part #903-87061-06-00
-
420S-18101-00-00
Вал переключения
1Replaced by 20S-18101-02-00 Доступно: Нет в наличии
-
1591312-06020-00
Bolt, Hexagon Socket Head
1Replaced by 91314-06020-00 Доступно: Нет в наличии
-
1720S-18110-00-00
Педаль переключения
1Replaced by 20S-18110-01-00 Доступно: Нет в наличии
-
20902-06120-05-00
Шайба волнистая
1Replaced by 90206-12074-00 Доступно: Нет в наличии
