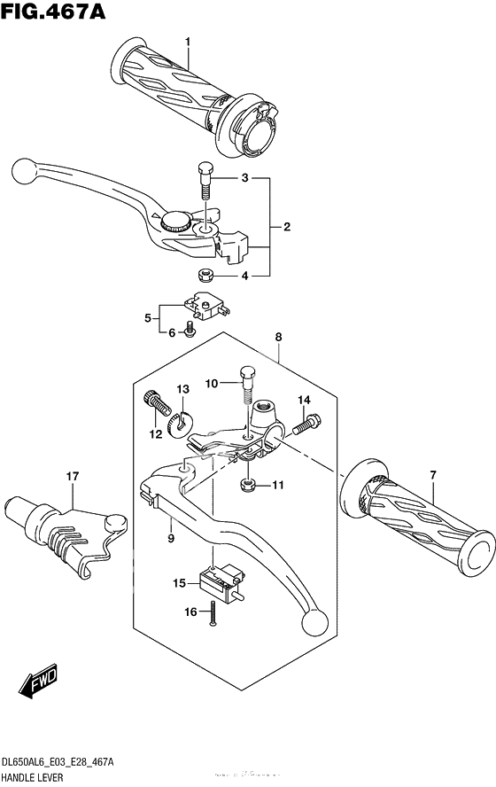
Ручки руля
Ручки руля
РУКОЯТКА АКСЕЛЕРАТОРА (Ref #1)
1
Part #57110-21H02-000
РУЧКА ТОРМОЗОВ (Ref #2)
2
Part #57300-44G12-000
BOLT,LEVER PIVOT (Ref #3)
3
Part #57431-17H02-000
Гайка (Ref #4)
4
Part #08319-2106A-000
Переключатель (Ref #5)
5
Part #57460-14J01-000
Болт (Ref #6)
6
Part #57465-17C00-000
GRIP,L (Ref #7)
7
Part #57211-21H01-000
Lever assy,clutch (Ref #8)
8
Part #57500-25D02-000
Рукоятка муфты (Ref #9)
9
Part #57621-40F00-000
Болт (Ref #10)
10
Part #57431-45C01-000
Регулятор (Ref #12)
12
Part #57441-45C00-000
NUT,LOCK (Ref #13)
13
Part #57442-45C00-000
Bolt (6x20) (Ref #14)
14
Part #01547-0620B-000
SWITCH,CLUTCH (Ref #15)
15
Part #57560-05A00-000
SCREW,CLUTCH SWITCH (Ref #16)
16
Part #57562-41G01-000
COVER,CLUTCH LEVER (Ref #17)
17
Part #57661-33E00-000
-
857500-25D01-000
Lever assy,clutch
1Replaced by 57500-25D02-000 Доступно: Нет в наличии
