Рама
Рама
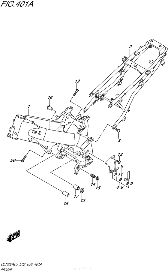
FRAME(BLACK) (Ref #1)
1
Part #41100-31J01-YAP
Rail comp,seat (Ref #2)
2
Part #41200-31J11-YD8
Болт (Ref #3)
3
Part #09139-10003-000
COVER,PIVOT,R (Ref #4)
4
Part #43580-31J00-000
PROTECTOR(80X80X2) (Ref #5)
5
Part #33652-07D00-000
CUSHION,RR COVER NO.2 (Ref #6)
6
Part #63115-37H00-000
CUSHION,PIVOT COVER NO.2 (Ref #7)
7
Part #94429-21E00-000
COVER,PIVOT,L (Ref #8)
8
Part #43590-31J00-000
Болт №1 (Ref #12)
12
Part #09139-05074-000
NUT,CRANK CASE ADJUST CTR (Ref #13)
13
Part #41922-19F20-000
BOLT,CASE LWR & RR HEAD ADJ (Ref #14)
14
Part #41921-16G00-000
NUT,CRANK CASE ADJUST LWR (Ref #15)
15
Part #41922-33E20-000
SPACER,MOUNTING RR UPR,R (Ref #16)
16
Part #41941-19F01-000
BOLT,CRANK CASE ADJUST (Ref #17)
17
Part #41921-47H00-000
SPACER,ENG HEAD MTG RR,L (Ref #18)
18
Part #41942-02F00-000
Болт (Ref #19)
19
Part #07130-0840B-000
-
241200-31J00-YD8
RAIL,SEAT(SILVER)
1Replaced by 41200-31J11-YD8 Доступно: Нет в наличии
