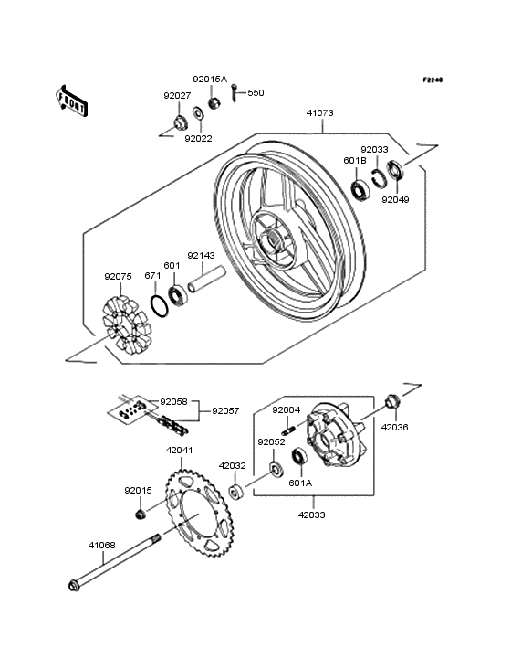
Rear wheel/chain
Rear wheel/chain
ワリ ピン,4.0x35 (Ref #550)
550
Part #550AA4035
BEARING-BALL,#6205C3 (Ref #601A)
601A
Part #601B6205
BEARING-BALL,#6203UUC3 (Ref #601)
601
Part #601B6203UU
ボ-ル ベアリング,#6303UUC3 (Ref #601B)
601B
Part #601B6303UU
O リング(コテイヨウ),50MM (Ref #671)
671
Part #671B2550
AXLE, RR (Ref #41068)
41068
Part #41068-1223
ホイ-ルアツシ,rr,グレー (Ref #41073)
41073
Part #41073-1474-179
Collar,rr axle,l=13 (Ref #42032)
42032
Part #42032063
Coupling-assy,rr hub (Ref #42033)
42033
Part #42033-1210-7J
Sleeve,l=25 (Ref #42036)
42036
Part #42036-1055
Звездочка,44T (Ref #42041)
42041
Part #42041-1292
スタツド,10x19 (Ref #92004)
92004
Part #92004-0028
NUT (Ref #92015A)
92015A
Part #92015-1947
NUT,LOCK,FLANGED,10MM (Ref #92015)
92015
Part #92210-0276
WASHER (Ref #92022)
92022
Part #92022-1916
カラ-,RR ハブ (Ref #92027)
92027
Part #92027-1785
Circlip,47mm (Ref #92033)
92033
Part #92033-1042
SEAL-OIL,BJN28475 (Ref #92049)
92049
Part #92049-1056
Oil seal wtc35527 (Ref #92052)
92052
Part #92049-1287
チエ-ン,ドライブ,EK520SR-02X106L (Ref #92057)
92057
Part #92057-0019
JOINT-CHAIN,DRIVE (Ref #92058)
92058
Part #92058-1102
DAMPER (Ref #92075)
92075
Part #92075-1436
カラ-,RR ハブ,L=111 (Ref #92143)
92143
Part #92143-1416
-
-
-
-
-
-
-
-
-
-
-
-
-
-
-
-
-
-
-
-
-
-
Цена: 0.00 р.
Доступно: 0
-
-
-
-
-
Цена: 0.00 р.
Доступно: 0
-
-
-
-
-
Цена: 1 160.00 р.
Доступно: 2
-
-
-
Цена: 1 090.00 р.
Доступно: 8
-
-
-
-
-
-
-
Цена: 0.00 р.
Доступно: 0
-
-
-
