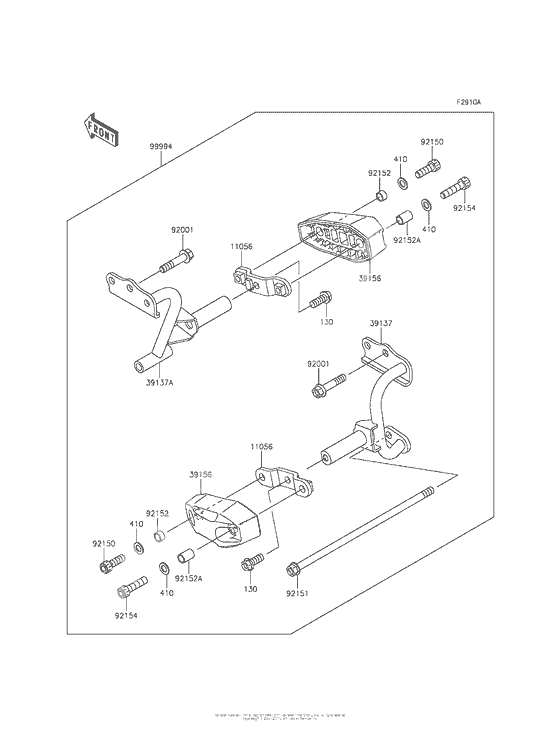
Accessory (Engine Guard)
Accessory (Engine Guard)
Болт ,10X25 (Ref #130)
130
Part #130BB1025
Шайба,10MM (Ref #410)
410
Part #410AB1000
BRACKET (Ref #11056)
11056
Part #11056-2117
ステ-コンプ (Ref #39137)
39137
Part #39137-0568
ステ-コンプ (Ref #39137A)
39137A
Part #39137-0569
パツド,エンジン ガード (Ref #39156)
39156
Part #39156-0758
Bolt,black,10x47 (Ref #92001)
92001
Part #92001-1522
ボルト,ソケツト,10X30 (Ref #92150)
92150
Part #92150-1690
ボルト,フランジ,10X280 (Ref #92151)
92151
Part #92151-1916
カラ-,10.6X13.8X7.8 (Ref #92152)
92152
Part #92152-1661
カラ-,10.6X13.8X19.8 (Ref #92152A)
92152A
Part #92152-1662
ボルト,ソケツト,10x40 (Ref #92154)
92154
Part #92154-1084
キツト(アクセサリ-),エンジン ガード (Ref #99994)
99994
Part #99994-0355
-
-
Цена: 0.00 р.
Доступно: 0
-
-
-
-
-
-
-
-
-
-
-
-
-
-
-
-
-
-
-
-
-
-
-
-
-
