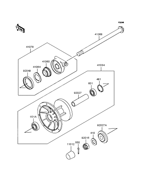
Front wheel
Front wheel
Washer-plain,14mm (Ref #410)
410
Part #410AA1400
CIRCLIP-TYPE-C,35MM (Ref #481)
481
Part #481J3500
Шпонка,3.0X25 (Ref #550)
550
Part #550AA3025
CAP (Ref #601A)
601A
Part #11012-1594
ボ-ル ベアリング,#6202UG (Ref #601)
601
Part #601B6202U
Drum-assy,fork brake (Ref #41034)
41034
Part #41034-1153
GEAR-METER SCREW,24T (Ref #41060)
41060
Part #41060-1101
RECEIVER-SPEEDOMETER (Ref #41064)
41064
Part #41064-1051
AXLE,FR (Ref #41068)
41068
Part #41068-1236
CASE-ASSY-METER GEAR (Ref #41078)
41078
Part #41078-1051
NUT,CASTLE,14MM (Ref #92015)
92015
Part #92015-1765
COLLAR,FRONT BRAKE DRUM,L=79 (Ref #92027)
92027
Part #92027-1683
COLLAR (Ref #92027A)
92027A
Part #92027-1864
SEAL-OIL,METER GEAR CASE (Ref #92049)
92049
Part #92049-1172
-
-
-
-
-
-
-
-
-
-
-
-
-
-
-
-
-
-
Цена: 0.00 р.
Доступно: 0
-
-
-
-
-
-
-
Цена: 0.00 р.
Доступно: 0
-
