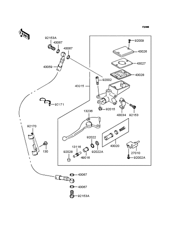
Главный цилиндр сцепления
Главный цилиндр сцепления
Bolt-flanged (Ref #130)
130
Part #130BB0608
ROD-PUSH,MASTER CYLINDER (Ref #13116)
13116
Part #13116-1110
レバ-コンプ,クラツチ (Ref #13236)
13236
Part #13236-1237
SWITCH, CLUTCH (Ref #27010)
27010
Part #27010-1406
Cylinder-assy-master, (Ref #43015)
43015
Part #43015-1492
PISTON-COMP-BRAKE,CLUTCH (Ref #43020)
43020
Part #43020-1055
CAP-BRAKE (Ref #43026)
43026
Part #43026-1076
PLATE-DIAPHRAGM (Ref #43027)
43027
Part #43027-1055
DIAPHRAGM,MASTER CYLINDER (Ref #43028)
43028
Part #43028-1058
HOLDER-BRAKE,MASTER CYLINDER (Ref #43034)
43034
Part #43034-1054
HOSE-BRAKE,CLUTCH (Ref #43059)
43059
Part #43059-1783
COVER-SEAL,MASTER CYLINDER (Ref #49016)
49016
Part #49016-1044
BOLT,LEVER SET,BLACK (Ref #92002)
92002
Part #92002-1322
SCREW,4X16 (Ref #92002A)
92002A
Part #92002-1325
SCREW,4MM (Ref #92009)
92009
Part #92009-1458
NUT,FLANGED,6MM,BLACK (Ref #92015)
92015
Part #92015-1233
WASHER,PISTON (Ref #92022A)
92022A
Part #92022-1606
CIRCLIP (Ref #92022)
92022
Part #92022-1605
BUSHING,MASTER CYLINDER (Ref #92028)
92028
Part #92028-1310
ボルト,ソケツト,6x20 (Ref #92153)
92153
Part #92153-0417
BOLT (Ref #92153A)
92153A
Part #92153-0627
BOLT (Ref #92153A)
92153A
Part #92153-0627
BOLT (Ref #92153A)
92153A
Part #92153-0627
BOLT (Ref #92153A)
92153A
Part #92153-0627
CLAMP (Ref #92170)
92170
Part #92170-1297
クランプ,DIA=15 (Ref #92171)
92171
Part #92171-1424
-
-
-
-
Цена: 6 130.00 р.
Доступно: 1
-
-
-
Цена: 2 220.00 р.
Доступно: 3
-
-
-
Цена: 0.00 р.
Доступно: 0
-
-
-
Цена: 350.00 р.
Доступно: 0
-
-
-
Цена: 0.00 р.
Доступно: 0
-
