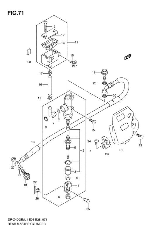
Rear master cylinder

Rear master cylinder

Rear master cylinder
CYLINDER ASSY,RR MASTER (Ref #1)
1
Part #69600-29F00-000
PISTON/CUP SET (Ref #2)
2
Part #69600-04820-000
Ботинок (Ref #3)
3
Part #69691-00A00-000
Ботинок (Ref #4)
4
Part #69692-29F00-000
Толкатель (Ref #5)
5
Part #69670-36E00-000
Гайка (Ref #6)
6
Part #69693-05A00-000
Гайка (Ref #6)
6
Part #69693-05A00-000
Гайка (Ref #6)
6
Part #69693-05A00-000
Гайка (Ref #6)
6
Part #69693-05A00-000
Коннектор (Ref #7)
7
Part #69672-00B20-000
Кольцо уплотнительное (Ref #8)
8
Part #69686-34200-000
Circlip (Ref #9)
9
Part #69674-00B20-000
Винт (6X16) (Ref #10)
10
Part #09139-06067-000
Tank assy, reservoir (Ref #11)
11
Part #69740-44E01-000
Cap (Ref #12)
12
Part #69669-44E00-000
Болт (Ref #13)
13
Part #69689-36E00-000
Диафрагма (Ref #14)
14
Part #59667-14500-000
Болт M6X16 (Ref #15)
15
Part #09116-06170-000
HOSE,FR RESERVOIR TANK (Ref #16)
16
Part #59731-42E00-000
CLAMP,RESERVOIR HOSE (Ref #17)
17
Part #69735-00B20-000
CLAMP,RESERVOIR HOSE (Ref #17)
17
Part #69735-00B20-000
CLAMP,RESERVOIR HOSE (Ref #17)
17
Part #69735-00B20-000
CLAMP,RESERVOIR HOSE (Ref #17)
17
Part #69735-00B20-000
HOSE,RR BRAKE (Ref #18)
18
Part #69480-29F12-000
Bolt (Ref #19)
19
Part #09360-10062-000
Bolt (Ref #19)
19
Part #09360-10062-000
Bolt (Ref #19)
19
Part #09360-10062-000
Bolt (Ref #19)
19
Part #09360-10062-000
GUARD,RR MASTER CYLINDER (Ref #21)
21
Part #43571-36E20-000
GUIDE,RR BRAKE (Ref #23)
23
Part #61196-27C30-000
Винт 5X10 (Ref #24)
24
Part #02142-0510B-000
PIN(8X20) (Ref #25)
25
Part #09200-08048-000
Штанга передачи (Ref #26)
26
Part #09160-08090-000
20 x 15 cotter (Ref #27)
27
Part #04111-2015A-000
CUSHION,RR RESERVOIR TANK (Ref #28)
28
Part #69749-29F00-000
+ -
  • 1
    69600-29F00-000

    CYLINDER ASSY,RR MASTER

    1
    Доступно: Нет в наличии
  • 2
    69600-04820-000

    PISTON/CUP SET

    1
    Доступно: Нет в наличии
  • 3
    69691-00A00-000

    Ботинок

    1
    Доступно: Нет в наличии
  • 4
    69692-29F00-000

    Ботинок

    1
    Доступно: Нет в наличии
  • 5
    69670-36E00-000

    Толкатель

    1
    Доступно: Нет в наличии
  • 6
    69693-05A00-000

    Гайка

    2
    Доступно: Нет в наличии
  • 7
    69672-00B20-000

    Коннектор

    1
    Доступно: Нет в наличии
  • 8
    69686-34200-000

    Кольцо уплотнительное

    1
    Доступно: Нет в наличии
  • 9
    69674-00B20-000

    Circlip

    1
    Доступно: Нет в наличии
  • 10
    09139-06067-000

    Винт (6X16)

    2
    Доступно: Нет в наличии
  • 11
    69740-44E00-000

    Tank assy, reservoir

    1
    Replaced by 69740-44E01-000 Доступно: Нет в наличии
  • 11
    69740-44E01-000

    Tank assy, reservoir

    1
    Доступно: Нет в наличии
  • 12
    69669-44E00-000

    Cap

    1
    Доступно: Нет в наличии
  • 13
    69689-36E00-000

    Болт

    2
    Доступно: Нет в наличии
  • 14
    59667-14500-000

    Диафрагма

    1
    Доступно: Нет в наличии
  • 15
    09116-06170-000

    Болт M6X16

    1
    Доступно: Нет в наличии
  • 16
    59731-42E00-000

    HOSE,FR RESERVOIR TANK

    1
    Доступно: Нет в наличии
  • 17
    69735-00B20-000

    CLAMP,RESERVOIR HOSE

    2
    Доступно: Нет в наличии
  • 18
    69480-29F12-000

    HOSE,RR BRAKE

    1
    Доступно: Нет в наличии
  • 18
    69480-29F11-000

    HOSE,RR BRAKE

    1
    Replaced by 69480-29F12-000 Доступно: Нет в наличии
  • 19
    09360-10062-000

    Bolt

    2
    Доступно: Нет в наличии
  • 20
    09161-10009-000

    Шайба

    4
    Доступно: Нет в наличии
  • 21
    43571-36E20-000

    GUARD,RR MASTER CYLINDER

    1
    Доступно: Нет в наличии
  • 23
    61196-27C30-000

    GUIDE,RR BRAKE

    2
    Доступно: Нет в наличии
  • 24
    02142-0510B-000

    Винт 5X10

    2
    Доступно: Нет в наличии
  • 25
    09200-08048-000

    PIN(8X20)

    1
    Доступно: Нет в наличии
  • 26
    09160-08090-000

    Штанга передачи

    1
    Доступно: Нет в наличии
  • 27
    04111-2015A-000

    20 x 15 cotter

    1
    Доступно: Нет в наличии
  • 28
    69749-29F00-000

    CUSHION,RR RESERVOIR TANK

    1
    Доступно: Нет в наличии