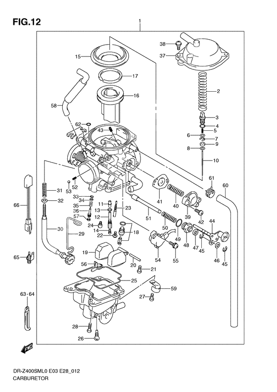
Carburetor assy
Carburetor assy
Карбюратор (Ref #1)
1
Part #13200-29FC3-000
Карбюратор (Ref #1)
1
Part #13200-29FB4-000
Пружина (Ref #2)
2
Part #13573-07F00-000
Holder (Ref #3)
3
Part #13418-33E00-000
O RING(D:1.9,ID:4.8) (Ref #4)
4
Part #09280-05004-000
Пружина (Ref #5)
5
Part #13481-04F00-000
Шайба (Ref #6)
6
Part #13382-19E00-000
E RING,MULTIPLE JET NOZZLE (Ref #7)
7
Part #13394-17E60-000
Ring (Ref #8)
8
Part #13387-13F00-000
Шайба (Ref #9)
9
Part #13291-29FA0-000
Жиклер (Ref #10)
10
Part #13383-29FB0-000
JET (Ref #11)
11
Part #09494-00939-000
HOLDER,JET (Ref #12)
12
Part #13385-29FA0-000
O ring (Ref #13)
13
Part #13246-43010-000
Жиклер главный (142.5) (Ref #14)
14
Part #09491-28012-000
Diaphragm (Ref #15)
15
Part #13507-17C02-000
Клапан поршня (Ref #16)
16
Part #13501-29FA0-000
Ring (Ref #17)
17
Part #13504-14E00-000
Клапан (Ref #18)
18
Part #13370-29FA0-000
Поплавок (Ref #19)
19
Part #13250-04F00-000
PIN,FLOAT (Ref #20)
20
Part #13254-01010-000
Болт (Ref #21)
21
Part #02112-0408B-000
Болт (Ref #22)
22
Part #13602-05A10-000
JET,PILOT(22.5) (Ref #23)
23
Part #09492-22014-000
JET,MAIN(62.5) (Ref #24)
24
Part #09491-62006-000
Прокладка (Ref #25)
25
Part #13258-04F00-000
Заглушка дренажная (Ref #26)
26
Part #13247-02340-000
Болт (Ref #27)
27
Part #02112-04107-000
Болт (Ref #28)
28
Part #02112-0412A-000
Clip (Ref #29)
29
Part #13671-29FA0-000
BLEEDER (Ref #30)
30
Part #13267-29FA0-000
Пружина (Ref #31)
31
Part #13268-37420-000
Шайба (Ref #32)
32
Part #13615-43010-000
O RING,PILOT AIR SCREW (Ref #33)
33
Part #13295-29901-000
Шайба (Ref #34)
34
Part #13291-29900-000
Пружина (Ref #35)
35
Part #13268-48700-000
Винт топливный (Ref #36)
36
Part #13279-33E00-000
COVER ASSY,DIAPHRAGM (Ref #37)
37
Part #13502-29FA0-000
Болт (Ref #38)
38
Part #13247-33E00-000
COVER ASSY (Ref #39)
39
Part #13502-10F00-000
COVER,DIAPHRAGM (Ref #39)
39
Part #13502-08F00-000
Пружина (Ref #40)
40
Part #13481-41F20-000
Diaphragm assy (Ref #41)
41
Part #13480-10F00-000
Болт (Ref #42)
42
Part #13601-04148-000
JET,POWER(135) (Ref #43)
43
Part #09492-27010-000
Plate assy (Ref #44)
44
Part #13420-29FA0-000
E ring (Ref #45)
45
Part #13415-38300-000
E ring (Ref #45)
45
Part #13415-38300-000
E ring (Ref #45)
45
Part #13415-38300-000
E ring (Ref #45)
45
Part #13415-38300-000
WASHER (Ref #46)
46
Part #13427-38300-000
CAP,STARTER VALVE (Ref #47)
47
Part #13682-31210-000
Держатель (Ref #48)
48
Part #13418-44080-000
O ring (Ref #49)
49
Part #13278-47090-000
Пружина (Ref #50)
50
Part #13417-43010-000
BLEEDER (Ref #51)
51
Part #13411-29FA0-000
Пружина (Ref #52)
52
Part #13434-43010-000
Шарик (Ref #53)
53
Part #13596-93010-000
Датчик (Ref #54)
54
Part #13580-21F00-000
Болт (Ref #55)
55
Part #13602-19B50-000
Ring (Ref #56)
56
Part #13387-29FA1-000
Plug (Ref #57)
57
Part #13281-05A00-000
Hose (Ref #58)
58
Part #13683-29FB0-000
Plate (Ref #59)
59
Part #13671-14D00-000
Шланг (Ref #60)
60
Part #13684-29FB0-000
Clip (Ref #61)
61
Part #13671-19F00-000
O ring (Ref #62)
62
Part #13295-33010-000
Струбцина катушки (Ref #63)
63
Part #09404-06429-000
Альтернатор (Ref #64)
64
Part #09404-08420-000
Heater, carburetor (Ref #65)
65
Part #13650-25E01-000
THERMO SWITCH,CARB HEATER (Ref #66)
66
Part #13655-16F00-000
-
2613247-13A00-000
Винт дренажный
1Replaced by 13247-02340-000 Доступно: Нет в наличии
-
3313295-29900-000
O RING,PILOT AIR SCREW
1Replaced by 13295-29901-000 Доступно: Нет в наличии
-
-
Цена: 670.00 р.
Доступно: 0
-
