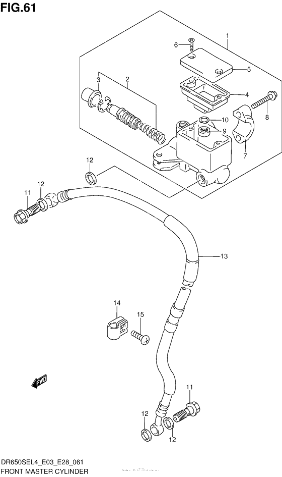
Передний тормозной цилиндр
Передний тормозной цилиндр
CYLINDER ASSY,FR MASTER (Ref #1)
1
Part #59600-31D01-000
PISTON/CUP SET (Ref #2)
2
Part #59600-04810-000
Ботинок (Ref #3)
3
Part #59666-44300-000
Diaphragm (Ref #4)
4
Part #59667-44B00-000
Cap (Ref #5)
5
Part #69669-24A01-000
Болт (Ref #6)
6
Part #69689-49300-000
Holder (Ref #7)
7
Part #59671-36500-000
BOLT(6X22) (Ref #8)
8
Part #59675-02FA0-000
Сепаратор (Ref #9)
9
Part #59748-15400-000
Plate (Ref #10)
10
Part #59749-15400-000
Bolt (Ref #11)
11
Part #09360-10062-000
Шайба (Ref #12)
12
Part #09161-10009-000
HOSE,FR BRAKE (Ref #13)
13
Part #59480-32E01-000
Clamp (Ref #14)
14
Part #58621-07A20-000
Болт (Ref #15)
15
Part #02142-0620B-000
