Рычаг прогрессии (Dr650Sel4 E28)
Рычаг прогрессии (Dr650Sel4 E28)
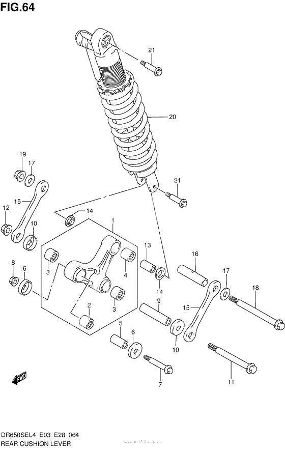
LEVER SET,RR CUSHION (Ref #1)
1
Part #62600-32840-000
BEARING(20X27X30) (Ref #2)
2
Part #09263-20073-000
BEARING(21X27X20) (Ref #3)
3
Part #09263-21012-000
BEARING(17X24X20) (Ref #4)
4
Part #09263-17027-000
SPACER,RR CUSHION LEVER FR (Ref #5)
5
Part #62317-27C10-000
SEAL,RR CUSHION LEVER FR DUST (Ref #6)
6
Part #62162-28E01-000
BOLT,RR CUSHION LEVER FR (Ref #7)
7
Part #62658-01C60-000
Nut 12mm (Ref #8)
8
Part #08319-3112A-000
SPACER,RR CUSHION LEVER CTR (Ref #9)
9
Part #62626-13E00-000
SEAL,RR CUSHION LEVER CTR (Ref #10)
10
Part #62682-13E00-000
BOLT,RR CUSHION LEVER CTR (Ref #11)
11
Part #62621-27C20-000
Гайка (Ref #12)
12
Part #08319-3114A-000
SPACER,RR CUSHION LEVER (Ref #13)
13
Part #62684-40A10-000
SEAL,RR CUSHION LEVER RR DUST (Ref #14)
14
Part #62624-13E00-000
ROD,RR CUSHION LEVER (Ref #15)
15
Part #62641-32E00-000
SPACER,RR CUSHION LEVER CTR (Ref #16)
16
Part #62626-14D00-000
Шайба упорная (Ref #17)
17
Part #08211-14321-000
SHAFT,RR CUSHION LEVER FR (Ref #18)
18
Part #62621-17C00-000
ABSORBER ASSY,RR SHOCK (Ref #20)
20
Part #62100-32E02-28W
BOLT,RR CUSHION ROD UPR (Ref #21)
21
Part #62648-14500-000
-
662162-28E00-000
SEAL,RR CUSHION LEVER FR DUST
2Replaced by 62162-28E01-000 Доступно: Нет в наличии
-
2062100-32E01-28W
ABSORBER ASSY,RR SHOCK
1Replaced by 62100-32E02-28W Доступно: Нет в наличии
