Equipo electrico
Equipo electrico
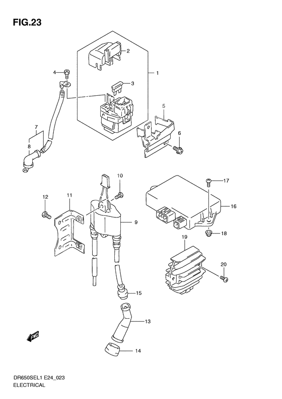
Реле стартера (Ref #1)
1
Part #31800-26E00-000
COVER,STARTER RELAY (Ref #2)
2
Part #31861-26E00-000
Предохранитель (Ref #3)
3
Part #09481-30101-000
SCREW(6X8) (Ref #4)
4
Part #09128-06013-000
Кронштейн реле мотора (Ref #5)
5
Part #31890-32E00-000
Болт (Ref #6)
6
Part #02162-0608B-000
WIRE,STARTER MOTOR (Ref #7)
7
Part #33810-32E00-000
Крышка (Ref #8)
8
Part #31861-48B10-000
Катушка зажигания (Ref #9)
9
Part #33410-32E00-000
Винт (Ref #10)
10
Part #02142-0625B-000
Кронштейн (Ref #11)
11
Part #33416-32E00-000
Болт (Ref #12)
12
Part #02142-0610B-000
Колпачок свечи зажигания (Ref #13)
13
Part #33510-43010-000
Уплотнение (Ref #14)
14
Part #33541-47D00-000
Уплотнение (Ref #15)
15
Part #33542-38B00-000
Блок управления двигателя (Ref #16)
16
Part #32900-32E10-000
Screw (Ref #17)
17
Part #02162-0620B-000
Гайка (Ref #18)
18
Part #08319-3106B-000
Rectifier assy (Ref #19)
19
Part #32800-32E00-000
