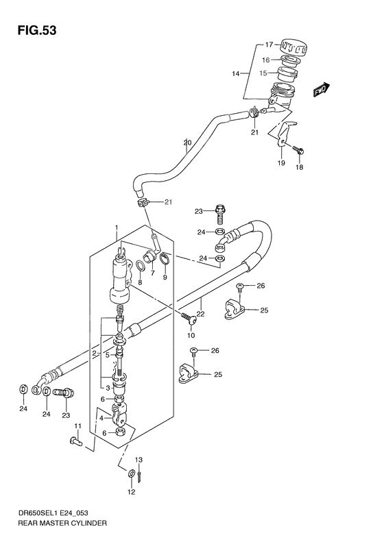
Rear master cylinder
Rear master cylinder
CYLINDER ASSY,RR MASTER (Ref #1)
1
Part #69600-32E00-000
PISTON/CUP SET (Ref #2)
2
Part #69600-04820-000
Ботинок (Ref #3)
3
Part #69691-00A00-000
Ботинок (Ref #4)
4
Part #69692-13E00-000
Толкатель (Ref #5)
5
Part #69670-27A30-000
Гайка (Ref #6)
6
Part #69693-05A00-000
Гайка (Ref #6)
6
Part #69693-05A00-000
Гайка (Ref #6)
6
Part #69693-05A00-000
Гайка (Ref #6)
6
Part #69693-05A00-000
Коннектор (Ref #7)
7
Part #69672-00B20-000
Кольцо уплотнительное (Ref #8)
8
Part #69686-34200-000
Circlip (Ref #9)
9
Part #69674-00B20-000
Винт (6X16) (Ref #10)
10
Part #09139-06067-000
PIN(8X20) (Ref #11)
11
Part #09200-08048-000
Штанга передачи (Ref #12)
12
Part #09160-08090-000
20 x 15 cotter (Ref #13)
13
Part #04111-2015A-000
TANK ASSY,RR BRAKE RESERVOIR (Ref #14)
14
Part #69740-03D00-000
Diaphragm (Ref #15)
15
Part #69667-00B20-000
Plate (Ref #16)
16
Part #69668-00B20-000
Cap (Ref #17)
17
Part #69669-03D00-000
Bolt (Ref #18)
18
Part #01550-0616B-000
GUARD,RSVR TANK CAP (Ref #19)
19
Part #69743-14D10-000
HOSE,RESERVOIR TANK (Ref #20)
20
Part #69730-32E00-000
Крепёж (Ref #21)
21
Part #09401-12404-000
Крепёж (Ref #21)
21
Part #09401-12404-000
Крепёж (Ref #21)
21
Part #09401-12404-000
Крепёж (Ref #21)
21
Part #09401-12404-000
HOSE,RR BRAKE (Ref #22)
22
Part #69480-32E01-000
Bolt (Ref #23)
23
Part #09360-10062-000
Bolt (Ref #23)
23
Part #09360-10062-000
Bolt (Ref #23)
23
Part #09360-10062-000
Bolt (Ref #23)
23
Part #09360-10062-000
GUIDE,RR BRAKE (Ref #25)
25
Part #61196-27C30-000
GUIDE,RR BRAKE (Ref #25)
25
Part #61196-27C30-000
GUIDE,RR BRAKE (Ref #25)
25
Part #61196-27C30-000
GUIDE,RR BRAKE (Ref #25)
25
Part #61196-27C30-000
Винт 5X10 (Ref #26)
26
Part #02142-0510B-000
Винт 5X10 (Ref #26)
26
Part #02142-0510B-000
Винт 5X10 (Ref #26)
26
Part #02142-0510B-000
Винт 5X10 (Ref #26)
26
Part #02142-0510B-000
