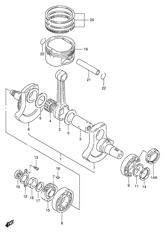
Crankshaft
Crankshaft
Коленчатый вал (Ref #1)
1
Part #12000-32820-000
Шатун (Ref #2)
2
Part #12161-32E00-000
Палец шатунный (Ref #3)
3
Part #12211-32E00-000
Игольчатый подшипник(37X47X25) (Ref #4)
4
Part #09263-37004-0C0
Шайба (Ref #5)
5
Part #09160-37006-000
Шайба (Ref #5)
5
Part #09160-37006-000
Шайба (Ref #5)
5
Part #09160-37006-000
Шайба (Ref #5)
5
Part #09160-37006-000
CRANKSHAFT SET,R (Ref #6)
6
Part #12221-32810-000
CRANKSHAFT,L (Ref #7)
7
Part #12261-32E00-000
Подшипник (Ref #8)
8
Part #09262-40008-000
Подшипник (Ref #9)
9
Part #09262-45011-000
SEAL,OIL(16X30X6) (Ref #10)
10
Part #09282-16002-000
Spacer,40x54x5. (Ref #11)
11
Part #09180-40003-000
RETAINER,CRANKSHAFT BEARING,R (Ref #12)
12
Part #12548-37400-000
Болт (Ref #13)
13
Part #02112-0508A-000
Гайка (Ref #14A)
14A
Part #12664-04F00-000
NUT,BAL DRIVE SPRKT (Ref #14)
14
Part #12664-44B00-000
GEAR,PRIMARY DRIVE(NT:28) (Ref #15)
15
Part #21111-32E00-000
Гайка (Ref #16)
16
Part #09140-20013-000
Пластина замка (Ref #17)
17
Part #09164-20003-000
Шпонка 5мм (Ref #18)
18
Part #08341-31059-000
Ключ (Ref #18)
18
Part #09420-05007-000
PISTON ( 100.00MM ) (Ref #19)
19
Part #12111-32E00-0F0
Кольца поршневые (Ref #20)
20
Part #12140-32E10-000
Палец поршня (Ref #21)
21
Part #12151-14A01-000
КЛИПС (Ref #22)
22
Part #09381-23003-000
КЛИПС (Ref #22)
22
Part #09381-23003-000
КЛИПС (Ref #22)
22
Part #09381-23003-000
КЛИПС (Ref #22)
22
Part #09381-23003-000
