Вилка передней оси (Dr-Z125L E28)
Вилка передней оси (Dr-Z125L E28)
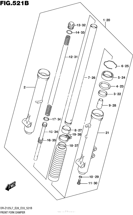
DAMPER ASSY,FR FORK,R (Ref #1)
1
Part #51103-08G60-000
TUBE,OUTER,R (Ref #2)
2
Part #51130-08G10-000
BUSH,GUIDE (Ref #3)
3
Part #51152-43EC0-000
SPACER,SEAL (Ref #4)
4
Part #51168-43EC0-000
Сальник (Ref #5)
5
Part #51153-48420-000
SEAL,OIL STOPPER RING (Ref #6)
6
Part #51156-48730-000
TUBE,INNER (Ref #7)
7
Part #51110-08G00-000
BUSH,SLIDE (Ref #8)
8
Part #51121-08G00-000
PIECE,OIL LOCK (Ref #9)
9
Part #51195-48000-000
GASKET (Ref #10)
10
Part #51148-36011-000
BOLT(8X27) (Ref #11)
11
Part #51147-48130-000
Пружина (Ref #12)
12
Part #51171-08G00-000
Bolt (Ref #13)
13
Part #51351-48000-000
O ring (Ref #14)
14
Part #51181-25030-000
Цилиндр (Ref #15)
15
Part #51146-08G00-000
Пружина (Ref #16)
16
Part #51177-08G00-000
Кольцо (Ref #17)
17
Part #51196-48000-000
Ботинок (Ref #18)
18
Part #51571-08G40-000
Band (Ref #19)
19
Part #51575-08G00-000
DAMPER ASSY,FR FORK,L (Ref #20)
20
Part #51104-08G60-000
TUBE,OUTER,L (Ref #21)
21
Part #51140-08G10-000
