Выхлопная система
Выхлопная система
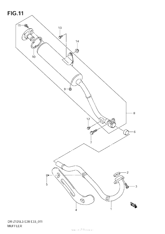
Pipe,exhaust (Ref #1)
1
Part #14150-08G00-000
Прокладка трубы (Ref #2)
2
Part #14181-18C00-000
Болт (Ref #3)
3
Part #07130-0825A-000
COVER,EXHAUST PIPE (Ref #4)
4
Part #14180-08G10-000
SCREW(6X10) (Ref #5)
5
Part #09139-06076-000
CONNECTOR,MUFFLER (Ref #6)
6
Part #14771-08G00-000
Болт нижней опоры (Ref #7)
7
Part #07120-0840A-000
BODY,MUFFLER (Ref #8)
8
Part #14310-08G01-000
Болт (Ref #9)
9
Part #07120-0610A-000
GASKET,ARRESTER (Ref #10)
10
Part #14773-08G00-000
Bolt (Ref #12)
12
Part #01550-0812A-000
Bolt(8x23) (Ref #13)
13
Part #09103-08247-000
Гайка (Ref #14)
14
Part #08319-3108A-000
-
-
Цена: 520.00 р.
Доступно: 11
-
