Передний тормозной цилиндр
Передний тормозной цилиндр
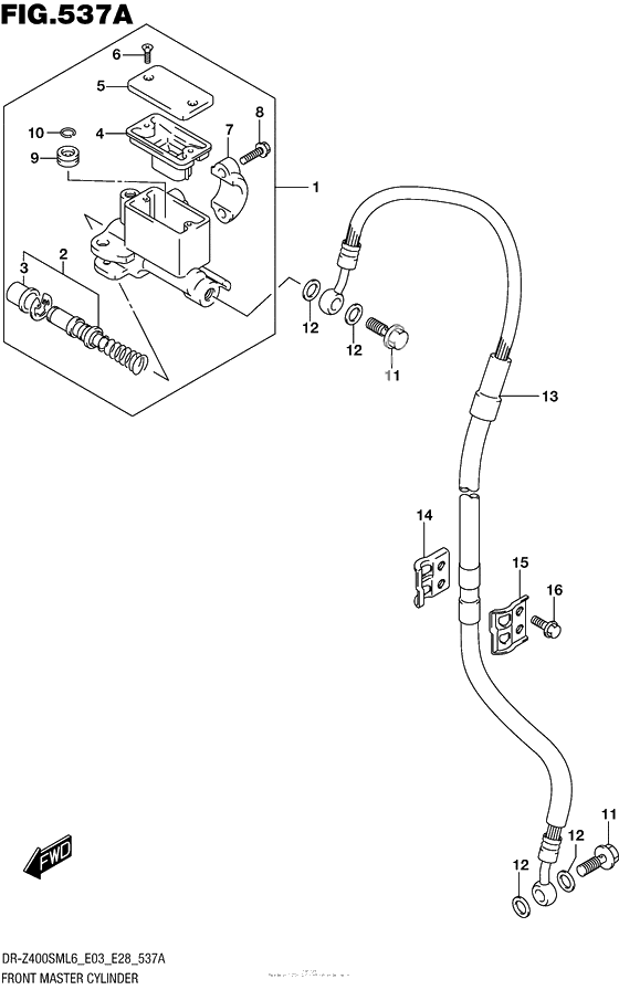
CYLINDER ASSY,FR MASTER (Ref #1)
1
Part #59600-44E30-000
PISTON/CUP SET (Ref #2)
2
Part #69600-38810-000
Ботинок (Ref #3)
3
Part #59666-44300-000
Diaphragm (Ref #4)
4
Part #59667-44B00-000
Cap (Ref #5)
5
Part #59669-03D00-000
Болт (Ref #6)
6
Part #02122-04127-000
Holder (Ref #7)
7
Part #59671-03D00-000
Bolt (Ref #8)
8
Part #59675-27C00-000
Сепаратор (Ref #9)
9
Part #59748-36E00-000
Ring (Ref #10)
10
Part #69744-36E00-000
Bolt (Ref #11)
11
Part #09360-10062-000
Шайба (Ref #12)
12
Part #09161-10009-000
HOSE,FR BRAKE (Ref #13)
13
Part #59480-29F32-000
CLAMP,FR BRAKE HOSE INNER (Ref #14)
14
Part #59260-36E00-000
CLAMP,FR BRAKE HOSE OUTER (Ref #15)
15
Part #59270-29F00-000
Болт (Ref #16)
16
Part #01547-0616A-000
-
1359480-29F31-000
HOSE,FR BRAKE
1Replaced by 59480-29F32-000 Доступно: Нет в наличии
