Балансировочный вал
Балансировочный вал
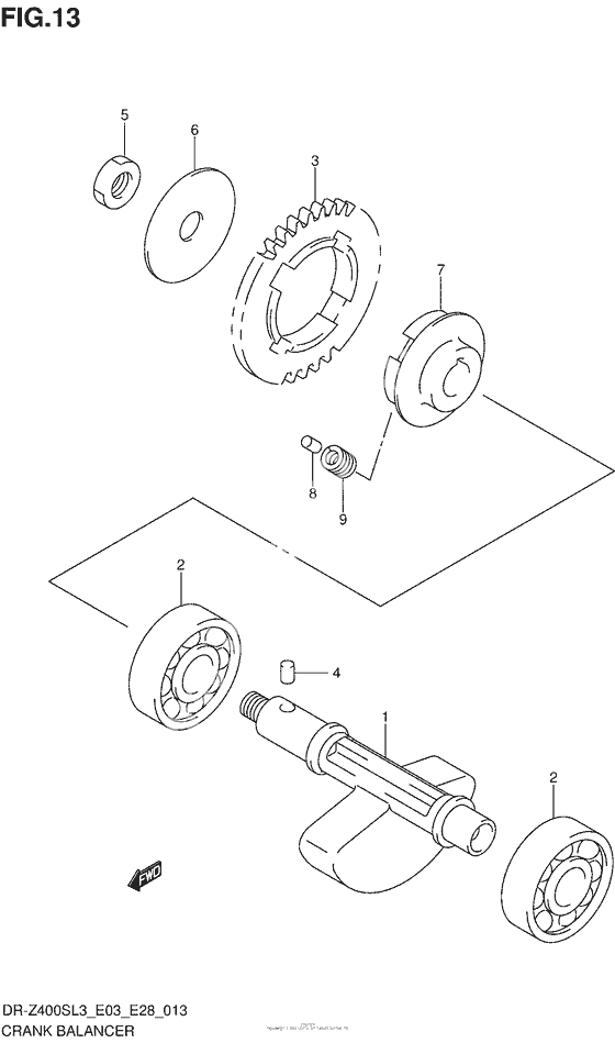
BALANCER,CRANK (Ref #1)
1
Part #12651-29F00-000
BEARING(15X42X13) (Ref #2)
2
Part #09262-15030-000
Ведущая шестерня (Ref #3)
3
Part #12666-29F11-000
PIN(5X8) (Ref #4)
4
Part #09261-05005-000
Гайка (Ref #5)
5
Part #09140-12039-000
Шайба (Ref #6)
6
Part #09181-12009-000
RACE,CRK BAL DRIVEN (Ref #7)
7
Part #12669-29F01-000
Стопор (Ref #8)
8
Part #09202-04017-000
Пружина (Ref #9)
9
Part #09440-09031-000
