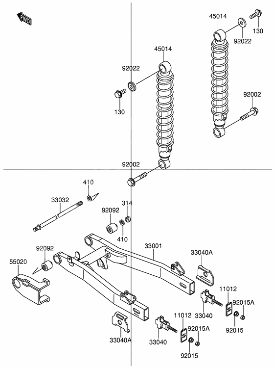
Swingarm/shock absorber
Swingarm/shock absorber
Болт ,6X14 (Ref #130)
130
Part #KK130-H0614-000
Болт ,6X14 (Ref #130)
130
Part #KK130-H0614-000
Болт ,6X14 (Ref #130)
130
Part #KK130-H0614-000
Болт ,6X14 (Ref #130)
130
Part #KK130-H0614-000
Гайка диагональная (Ref #314)
314
Part #K314A-A1200-000
Washer-plain-small,12mm,black (Ref #410)
410
Part #KK410-F1200-000
Washer-plain-small,12mm,black (Ref #410)
410
Part #KK410-F1200-000
Washer-plain-small,12mm,black (Ref #410)
410
Part #KK410-F1200-000
Washer-plain-small,12mm,black (Ref #410)
410
Part #KK410-F1200-000
-
314KK314-B1200-000
Гайка диагональная
1Replaced by K314A-A1200-000 Доступно: Нет в наличии
