Turnsignal front & rear lamp Gs500fh
Turnsignal front & rear lamp Gs500fh
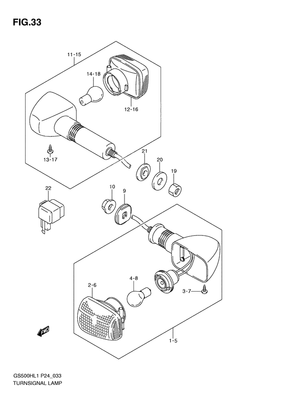
LAMP ASSY,FR TURN SIGNAL,R (Ref #1)
1
Part #35601-01D30-000
LAMP UNIT (Ref #2)
2
Part #35610-01D20-000
Болт (Ref #3)
3
Part #03241-0412A-000
BULB(12V21W) (Ref #4)
4
Part #09471-12045-000
LAMP ASSY,FR TURN SIGNAL,L (Ref #5)
5
Part #35602-01D30-000
Plate, front turnsignal (Ref #9)
9
Part #35629-0BE00-000
Nut (Ref #10)
10
Part #08316-1010A-000
LAMP ASSY,RR TURNSIGNAL,R (Ref #11)
11
Part #35603-01D20-000
LAMP ASSY,RR TURNSIGNAL,L (Ref #15)
15
Part #35604-01D20-000
Гайка (Ref #19)
19
Part #D8310-1010B-000
WASHER(10.5X30X2.3) (Ref #20)
20
Part #09160-10501-000
SPACER,RR TURNSIGNAL (Ref #21)
21
Part #35695-17C00-000
Relay assy, turnsignal (Ref #22)
22
Part #38610C01D10J000
