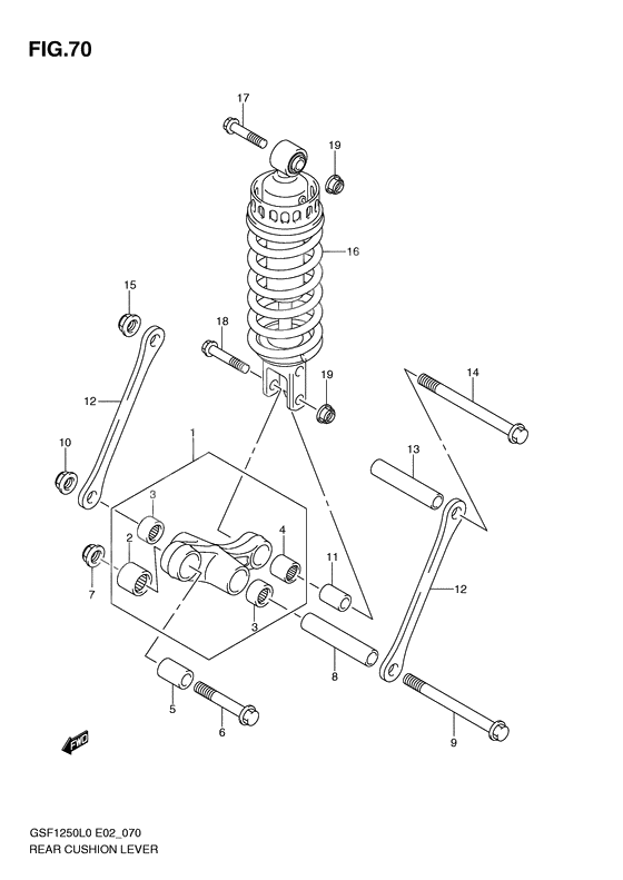
Rear cushion lever
Rear cushion lever
LEVER SET,RR CUSHION (Ref #1)
1
Part #62600-32850-000
BEARING(20X27X26) (Ref #2)
2
Part #09263-20064-000
Подшипник (Ref #3)
3
Part #09263-17053-000
Подшипник (Ref #3)
3
Part #09263-17053-000
Подшипник (Ref #3)
3
Part #09263-17053-000
Подшипник (Ref #3)
3
Part #09263-17053-000
Подшипник верхний (Ref #4)
4
Part #09263-17034-000
SPACER,RR CUSHION LEVER FR (Ref #5)
5
Part #62684-01D00-000
BOLT,CUSHION LEVER (Ref #6)
6
Part #62668-42A02-000
Гайка (Ref #7)
7
Part #09159-12056-000
SPACER,RR CUSHION LEVER CTR (Ref #8)
8
Part #62626-33D00-000
Болт тяги (Ref #9)
9
Part #62621-33D10-000
SPACER,RR CUSHION LEVER (Ref #11)
11
Part #62684-40A10-000
ROD,RR CUSHION (Ref #12)
12
Part #62641-32F00-000
ROD,RR CUSHION (Ref #12)
12
Part #62641-32F00-000
ROD,RR CUSHION (Ref #12)
12
Part #62641-32F00-000
ROD,RR CUSHION (Ref #12)
12
Part #62641-32F00-000
BOLT,RR CUSHION LEVER CTR (Ref #14)
14
Part #62621-33D00-000
ABSORBER ASSY,REAR SHOCK (Ref #16)
16
Part #62100-07J00-17U
BOLT(10X52) (Ref #17)
17
Part #09103-10213-000
Болт нижней опоры (Ref #18)
18
Part #09103-10143-000
Гайка (Ref #19)
19
Part #09159-10115-000
Гайка (Ref #19)
19
Part #09159-10115-000
Гайка (Ref #19)
19
Part #09159-10115-000
Гайка (Ref #19)
19
Part #09159-10115-000
-
1662100-07J00-000
ABSORBER ASSY,REAR SHOCK
1Replaced by 62100-07J00-17U Доступно: Нет в наличии
