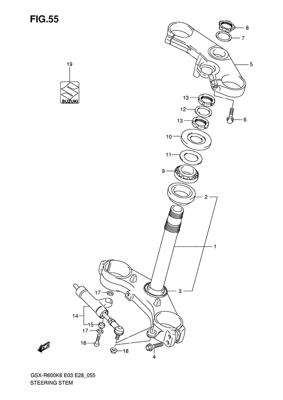
Steering stem
Steering stem
BEARING(30X55X17) (Ref #2)
2
Part #09267-30010-000
SEAL,STEERING LWR (Ref #3)
3
Part #51644-12C00-000
SEAL,STEERING LWR (Ref #3)
3
Part #51644-12C00-000
SEAL,STEERING LWR (Ref #3)
3
Part #51644-12C00-000
SEAL,STEERING LWR (Ref #3)
3
Part #51644-12C00-000
BOLT,HOLDER AXLE(8X40) (Ref #4)
4
Part #51328-27E30-000
HEAD,STEERING STEM (Ref #5)
5
Part #51311-01H00-000
Bolt (Ref #6)
6
Part #51147-01H00-000
Шайба (Ref #7)
7
Part #51354-01H00-000
Гайка (Ref #8)
8
Part #51353-01H00-000
COVER,STEERING UPR (Ref #10)
10
Part #51643-41G10-000
Шайба (Ref #12)
12
Part #51641-33E00-000
Гайка (Ref #13)
13
Part #51631-33E00-000
Гайка (Ref #13)
13
Part #51631-33E00-000
Гайка (Ref #13)
13
Part #51631-33E00-000
Гайка (Ref #13)
13
Part #51631-33E00-000
Демпфер управления (Ref #14)
14
Part #51750-40F80-000
BEARING(8X17.5X11) (Ref #15)
15
Part #09269-08003-000
Bolt(8x35) (Ref #16)
16
Part #09106-08130-000
Уплотнение (Ref #17)
17
Part #64339-14101-000
Уплотнение (Ref #17)
17
Part #64339-14101-000
Уплотнение (Ref #17)
17
Part #64339-14101-000
Уплотнение (Ref #17)
17
Part #64339-14101-000
Гайка (Ref #18)
18
Part #08319-3108A-000
Эмблема (Ref #19)
19
Part #68281-35F00-000
-
151410-01H00-000
Stem, steering
1Replaced by 51410-01H10-000 Доступно: Нет в наличии
-
1051643-41G00-A08
Seal, stem upper dust
1Replaced by 51643-41G10-000 Доступно: Нет в наличии
-
-
Цена: 2 540.00 р.
Доступно: 1
-
