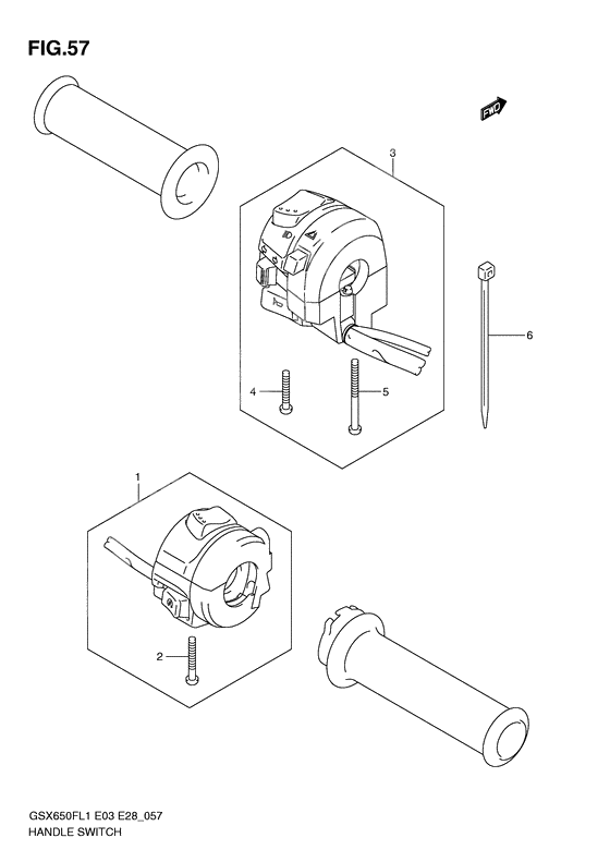
Handle switch
Handle switch
SWITCH ASSY,HANDLE,R (Ref #1)
1
Part #37200-38G30-000
Болт (Ref #2)
2
Part #02112-0530B-000
Switch assy,han (Ref #3)
3
Part #37400-18H13-000
Болт (Ref #4)
4
Part #02112-0525B-000
Болт (Ref #5)
5
Part #02112-0545B-000
Clamp (l:145) (Ref #6)
6
Part #09407-14407-000
-
337400-18H12-000
Switch assy,han
1Replaced by 37400-18H13-000 Доступно: Нет в наличии
