Front Gsx650fl1 e28
Front Gsx650fl1 e28
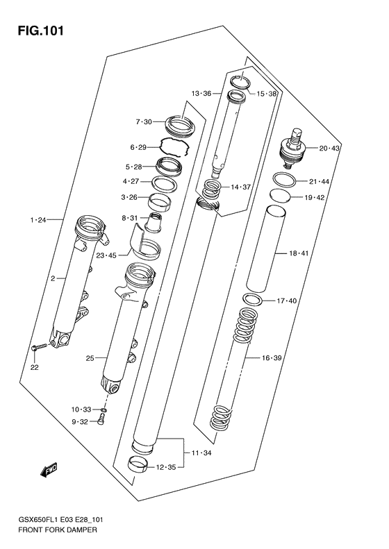
DAMPER ASSY,FR FORK,R (Ref #1)
1
Part #51103-17H40-000
TUBE,OUTER,R (Ref #2)
2
Part #51130-17H30-000
Металическая вставка (Ref #3)
3
Part #51167-26E10-000
Шайба (Ref #4)
4
Part #51158-05A00-000
Сальник (Ref #5)
5
Part #51153-10G50-000
RING,OIL SEAL STOPPER (Ref #6)
6
Part #51156-49440-000
Уплотнение (Ref #7)
7
Part #51173-14F00-000
PIECE,OIL LOCK (Ref #8)
8
Part #51195-33D10-000
BOLT,FORK CYLINDER(10X25) (Ref #9)
9
Part #51147-16510-000
GASKET (Ref #10)
10
Part #51148-41310-000
TUBE,INNER (Ref #11)
11
Part #51110-17H00-000
Поршень (Ref #12)
12
Part #51121-23EA0-000
Цилиндр (Ref #13)
13
Part #51146-17H20-000
Пружина (Ref #14)
14
Part #51177-06C00-000
Кольцо поршневое (Ref #15)
15
Part #51196-31F00-000
Пружина (Ref #16)
16
Part #51171-17H20-000
Уплотнение пружины нижн. (Ref #17)
17
Part #51356-17H00-000
Прокладка (Ref #18)
18
Part #51176-12D10-000
WASHER,FR FORK SPRING (Ref #19)
19
Part #51192-27A00-000
Cap (Ref #20)
20
Part #51351-31FA0-000
Кольцо корпуса подшипника (Ref #21)
21
Part #09280-32001-000
Болт (Ref #22)
22
Part #51451-10G00-000
Protector (Ref #23)
23
Part #51201-31F00-000
DAMPER ASSY,FR FORK,L (Ref #24)
24
Part #51104-17H40-000
TUBE,OUTER,L (Ref #25)
25
Part #51140-17H30-000
-
-
Цена: 1 340.00 р.
Доступно: 4
-
-
-
Цена: 1 020.00 р.
Доступно: 2
-
