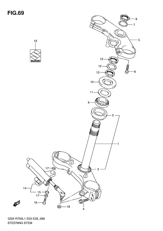
Steering stem

Steering stem

Steering stem
+ -
  • 1
    51410-01H10-000

    STEM,STEERING

    1
    Доступно: Нет в наличии
  • 2
    09267-30010-000

    BEARING(30X55X17)

    1
    Доступно: Нет в наличии
  • 3
    51644-12C00-000

    SEAL,STEERING LWR

    1
    Доступно: Нет в наличии
  • 4
    51328-27E30-000

    BOLT,HOLDER AXLE(8X40)

    4
    Доступно: Нет в наличии
  • 5
    51311-01H00-000

    HEAD,STEERING STEM

    1
    Доступно: Нет в наличии
  • 6
    51321-27E30-000

    BOLT,HOLDER(8X25)

    2
    Доступно: Нет в наличии
  • 7
    51354-01H00-000

    Шайба

    1
    Доступно: Нет в наличии
  • 8
    51353-01H00-000

    Гайка

    1
    Доступно: Нет в наличии
  • 10
    51643-41G10-000

    COVER,STEERING UPR

    1
    Доступно: 1
  • 12
    51641-33E00-000

    Шайба

    1
    Доступно: Нет в наличии
  • 13
    51631-33E00-000

    Гайка

    2
    Доступно: Нет в наличии
  • 14
    51750-21H10-000

    Демпфер управления

    1
    Доступно: Нет в наличии
  • 15
    09269-08003-000

    BEARING(8X17.5X11)

    1
    Доступно: Нет в наличии
  • 16
    09106-08130-000

    Bolt(8x35)

    1
    Доступно: Нет в наличии
  • 17
    64339-14101-000

    Уплотнение

    2
    Доступно: Нет в наличии
  • 18
    08319-3108A-000

    Гайка

    1
    Доступно: Нет в наличии
  • 19
    68281-35F00-000

    Эмблема

    1
    Доступно: Нет в наличии