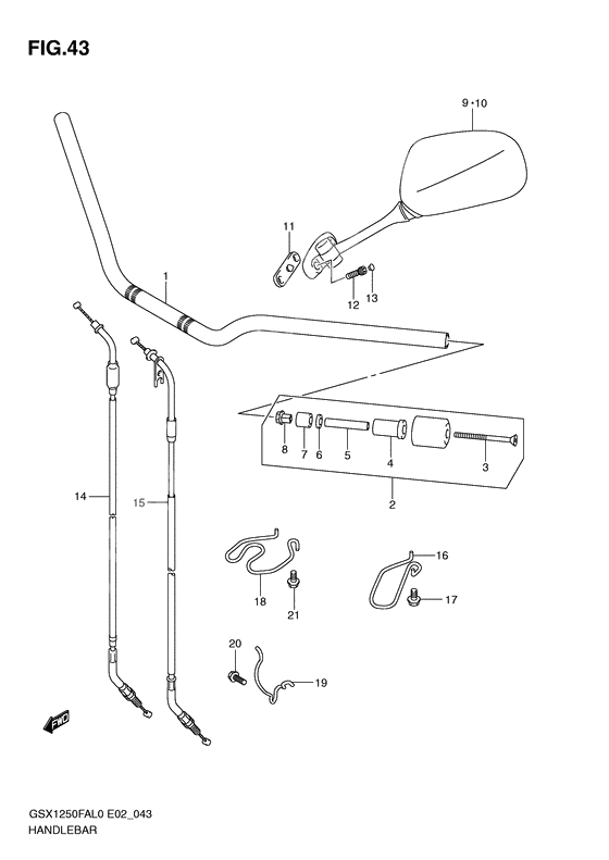
Handlebar
Handlebar
HANDLEBAR (Ref #1)
1
Part #56111-49G00-000
BLEEDER (Ref #2)
2
Part #56200-38823-000
Болт (Ref #3)
3
Part #09127-06018-000
EXPANDER,HANDLE BALANCER (Ref #4)
4
Part #56272-19D00-000
Кольцо/шайба (Ref #5)
5
Part #56276-17D00-000
Шайба (Ref #6)
6
Part #09160-06131-000
EXPANDER,HANDLE BALANCER (Ref #7)
7
Part #56272-10G01-000
Гайка (Ref #8)
8
Part #56273-10G10-000
Mirror,rear rh (Ref #9)
9
Part #56500-18H01-000
Mirror assy, rear view, l (Ref #10)
10
Part #56600-18H01-000
CUSHION,RR VIEW MIRROR (Ref #11)
11
Part #94576-24F00-000
Болт (Ref #12)
12
Part #07130-0616B-000
Cap (Ref #13)
13
Part #09250-05009-000
CABLE ASSY,THROTTLE NO.1 (Ref #14)
14
Part #58300-18H60-000
Кабель дросселя №2 (Ref #15)
15
Part #58300-18H30-000
Переходник (Ref #16)
16
Part #58631-38G00-000
Винт L (Ref #17)
17
Part #09125-05042-000
Переходник (Ref #18)
18
Part #58621-18H00-000
Направляющая кабеля (Ref #19)
19
Part #58622-38G00-000
Bolt (Ref #20)
20
Part #01550-0620A-000
Bolt (Ref #21)
21
Part #01550-0612A-000
-
756272-10G00-000
EXPANDER,HANDLE BALANCER
2Replaced by 56272-10G01-000 Доступно: Нет в наличии
-
956500-18H00-000
Mirror,rear rh
1Replaced by 56500-18H01-000 Доступно: Нет в наличии
-
1056600-18H00-000
Mirror assy, rear view, l
1Replaced by 56600-18H01-000 Доступно: Нет в наличии
