Коленчатый вал & Поршень
Коленчатый вал & Поршень
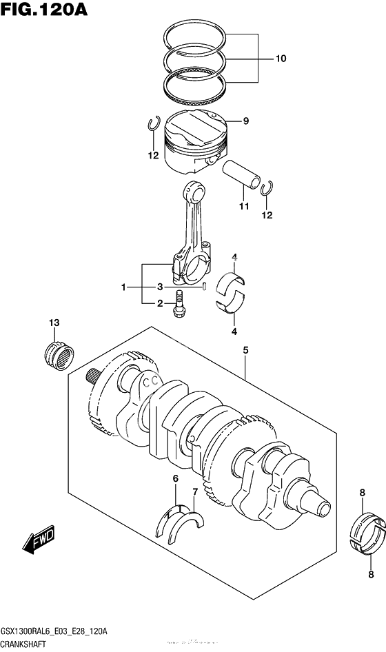
Шатун (Ref #1)
1
Part #12160-15H00-000
BOLT,CONNECTING ROD (Ref #2)
2
Part #12163-24F10-000
шпонка ведомой звездочки балансира (Ref #3)
3
Part #04221-04089-000
Коленчатый вал (Ref #5)
5
Part #12000-15810-000
BEARING, CRANK THRUST, L (Ref #6)
6
Part #12228-24F00-0D0
Piston (Ref #9)
9
Part #12111-15H00-0F0
Ring set,piston (Ref #10)
10
Part #12140-15H10-000
Палец поршня (Ref #11)
11
Part #12151-07D00-000
КЛИПС (Ref #12)
12
Part #09381-18005-000
Звездочка, цепь кулака (Ref #13)
13
Part #12731-24F10-000
-
-
Цена: 6 550.00 р.
Доступно: 4
-
