Воздушный фильтр (Gsx1300Ral3 E28)
Воздушный фильтр (Gsx1300Ral3 E28)
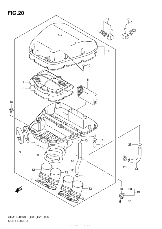
CLEANER ASSY,AIR (Ref #1)
1
Part #13700-15H02-000
Clamp (Ref #2)
2
Part #13170-15H10-000
CUSHION,DUCT (Ref #3)
3
Part #13736-15H01-000
Крышка (Ref #4)
4
Part #13740-15H00-000
Прокладка стакана (Ref #5)
5
Part #13746-15H00-000
Прокладка (Ref #6)
6
Part #13756-15H00-000
ФИЛЬТР ВОЗДУШНЫЙ ДВИГАТЕЛЯ (Ref #7)
7
Part #13780-15H00-000
Фильтр воздушный (Ref #8)
8
Part #13788-15H00-000
Clip (Ref #9)
9
Part #09401-16401-000
TUBE,BREATHER (Ref #10)
10
Part #13853-15H00-000
Заглушка (Ref #11)
11
Part #13859-41B10-000
Трубка выхода (Ref #12)
12
Part #13882-41G00-000
Clip (Ref #13)
13
Part #09401-14301-000
Винт (Ref #15)
15
Part #03541-0525B-000
Болт (Ref #16)
16
Part #09116-06130-000
SENSOR,BOOST (Ref #17)
17
Part #15630-29G40-000
Cover (Ref #18)
18
Part #15625-29G40-000
Сенсор температуры воздуха (Ref #19)
19
Part #13650-14G10-000
O ring (Ref #20)
20
Part #13655-14G10-000
Болт (Ref #21)
21
Part #03511-0516A-000
SENSOR,AIR PRESSURE (Ref #22)
22
Part #15630-29G30-000
Cover (Ref #23)
23
Part #15625-29G30-000
HOSE,ISC VALVE (Ref #24)
24
Part #13697-15H00-000
Clip (Ref #25)
25
Part #09401-15101-000
Clip, 2nd air hose no.2 (Ref #26)
26
Part #09401-16403-000
-
113700-15H01-000
CLEANER ASSY,AIR
1Replaced by 13700-15H02-000 Доступно: Нет в наличии
