Электрооборудование (Gsx1300R L2 E03)
Электрооборудование (Gsx1300R L2 E03)
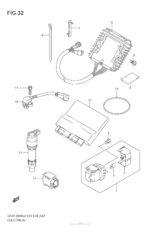
Реле стартера (Ref #1)
1
Part #31800-44G00-000
Cover (Ref #2)
2
Part #31861-38G00-000
FUSE(30A) (Ref #3)
3
Part #09481-30501-000
SCREW(6X8) (Ref #4)
4
Part #09128-06013-000
Rectifier assy (Ref #5)
5
Part #32800-15H11-000
CUSHION(30X50X3) (Ref #6)
6
Part #33652-36000-000
CLAMP(L:63) (Ref #7)
7
Part #36651-48E00-000
Clamp (l:145) (Ref #8)
8
Part #09407-14407-000
Болт выпрямителя (Ref #9)
9
Part #02162-0625A-000
SENSOR ASSY,CAM POSITION (Ref #10)
10
Part #33220-01H00-000
Болт (Ref #11)
11
Part #07130-0616A-000
Катушка зажигания (Ref #12)
12
Part #33410-24F11-000
CONTROL UNIT,FI (Ref #13)
13
Part #32920-15H11-000
SENSOR ASSY,FUEL CUT (Ref #14)
14
Part #33960-06G10-000
O RING(D:3.5,ID:76) (Ref #15)
15
Part #09280-76005-000
-
1233410-24F10-000
Катушка зажигания
4Replaced by 33410-24F11-000 Доступно: Нет в наличии
-
-
Цена: 13 340.00 р.
Доступно: 4
-
-
1332920-15H10-000
CONTROL UNIT,FI
1Replaced by 32920-15H11-000 Доступно: Нет в наличии
