Rear cushion lever Gsx1300rl1 e51
Rear cushion lever Gsx1300rl1 e51
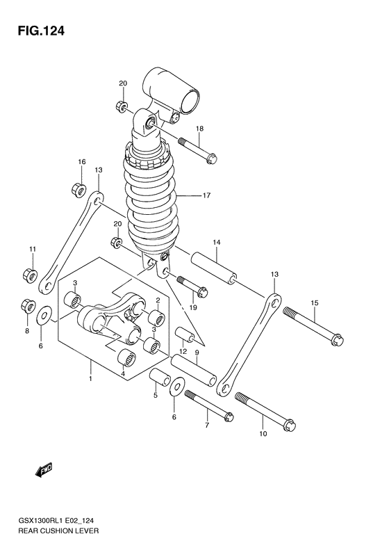
LEVER SET,RR CUSHION (Ref #1)
1
Part #62600-24832-000
BEARING(20X27X30) (Ref #2)
2
Part #09263-20073-000
Подшипник (Ref #3)
3
Part #09263-17053-000
Подшипник (Ref #3)
3
Part #09263-17053-000
Подшипник (Ref #3)
3
Part #09263-17053-000
Подшипник (Ref #3)
3
Part #09263-17053-000
Подшипник верхний (Ref #4)
4
Part #09263-17034-000
Шайба подшипник (Ref #5)
5
Part #62684-12C00-000
WASHER (Ref #6)
6
Part #08211-12301-000
WASHER (Ref #6)
6
Part #08211-12301-000
WASHER (Ref #6)
6
Part #08211-12301-000
WASHER (Ref #6)
6
Part #08211-12301-000
BOLT,RR CUSHION LEVER FR (Ref #7)
7
Part #62658-19F00-000
Гайка (Ref #8)
8
Part #09159-12056-000
SPACER,RR CUSHION LEVER CTR (Ref #9)
9
Part #62626-33D00-000
Болт тяги (Ref #10)
10
Part #62621-33D10-000
SPACER,RR CUSHION LEVER (Ref #12)
12
Part #62684-40A10-000
ROD,RR CUSHION (Ref #13)
13
Part #62641-24F00-000
ROD,RR CUSHION (Ref #13)
13
Part #62641-24F00-000
ROD,RR CUSHION (Ref #13)
13
Part #62641-24F00-000
ROD,RR CUSHION (Ref #13)
13
Part #62641-24F00-000
ABSORBER ASSY,RR SHOCK (Ref #17)
17
Part #62100-24F50-000
Болт (Ref #18)
18
Part #09103-10033-000
Болт нижней опоры (Ref #19)
19
Part #09103-10143-000
Гайка (Ref #20)
20
Part #09159-10115-000
Гайка (Ref #20)
20
Part #09159-10115-000
Гайка (Ref #20)
20
Part #09159-10115-000
Гайка (Ref #20)
20
Part #09159-10115-000
-
162600-24831-000
LEVER SET,RR CUSHION
1Replaced by 62600-24832-000 Доступно: Нет в наличии
