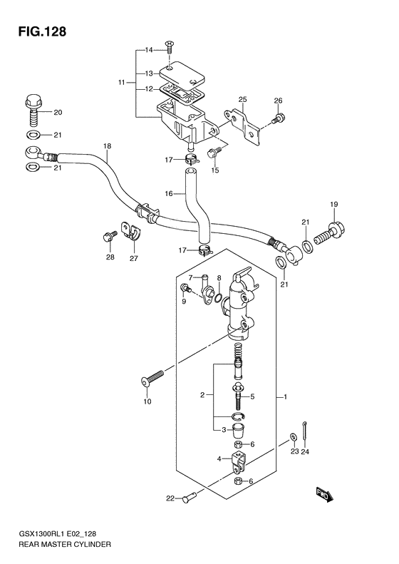
Rear master cylinder
Rear master cylinder
CYLINDER ASSY,RR MASTER (Ref #1)
1
Part #69600-15H00-000
PISTON/CUP SET (Ref #2)
2
Part #69600-04820-000
Ботинок (Ref #3)
3
Part #69691-00A00-000
Ботинок (Ref #4)
4
Part #69692-27A30-000
Толкатель (Ref #5)
5
Part #69670-27A30-000
Гайка (Ref #6)
6
Part #69693-05A00-000
Гайка (Ref #6)
6
Part #69693-05A00-000
Гайка (Ref #6)
6
Part #69693-05A00-000
Гайка (Ref #6)
6
Part #69693-05A00-000
Коннектор (Ref #7)
7
Part #69672-05A00-000
Кольцо уплотнительное (Ref #8)
8
Part #69686-34200-000
Болт (Ref #9)
9
Part #02112-7412A-000
SCREW(6X20) (Ref #10)
10
Part #09139-06028-000
TANK ASSY,RR RESERVOIR (Ref #11)
11
Part #69740-01D02-000
Diaphragm (Ref #12)
12
Part #59667-04700-000
Cap (Ref #13)
13
Part #59669-05D00-000
Болт (Ref #14)
14
Part #69689-04A00-000
Болт (Ref #15)
15
Part #01547-0612A-000
HOSE,RESERVOIR TANK (Ref #16)
16
Part #69731-24F00-000
Clip (Ref #17)
17
Part #09401-13417-000
Clip (Ref #17)
17
Part #09401-13417-000
Clip (Ref #17)
17
Part #09401-13417-000
Clip (Ref #17)
17
Part #09401-13417-000
HOSE,RR BRAKE (Ref #18)
18
Part #69480-15H00-000
Bolt (Ref #19)
19
Part #09360-10061-000
Bolt (Ref #20)
20
Part #09360-10062-000
Вал ручки (Ref #22)
22
Part #09200-06068-000
Шайба (Ref #23)
23
Part #08322-0106A-000
20 x 15 cotter (Ref #24)
24
Part #04111-2015A-000
BRACKET,RR RESERVOIR TANK (Ref #25)
25
Part #69750-15H00-000
Bolt (Ref #26)
26
Part #01550-0612A-000
CLAMP,RR BRAKE HOSE (Ref #27)
27
Part #69268-15H00-000
