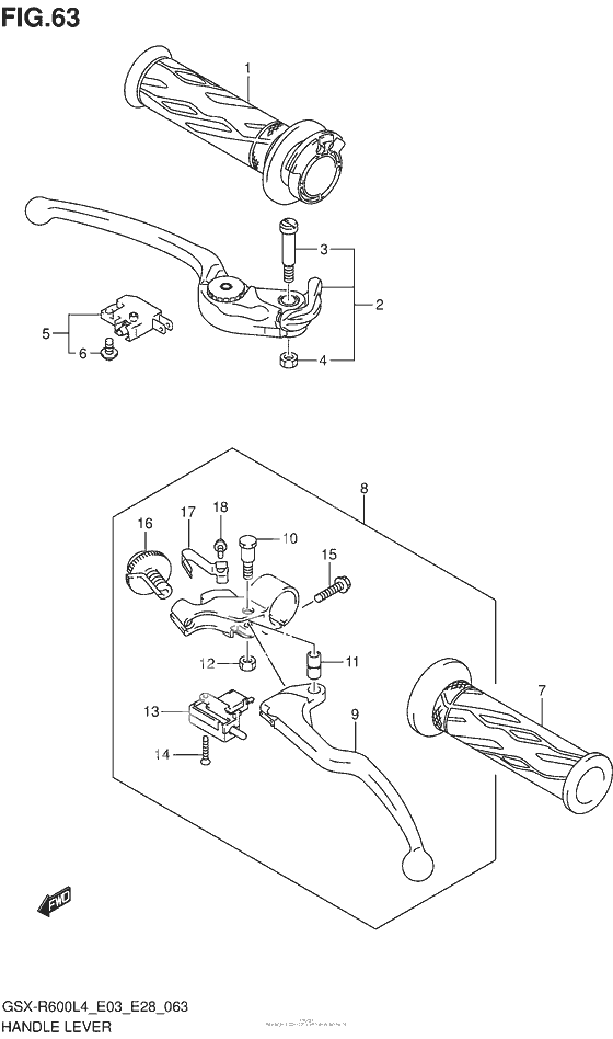
Ручки руля
Ручки руля
РУКОЯТКА АКСЕЛЕРАТОРА (Ref #1)
1
Part #57110-21H02-000
LEVER ASSY,BRAKE (Ref #2)
2
Part #57300-29G30-000
Болт (Ref #3)
3
Part #57431-29G00-000
Гайка (Ref #4)
4
Part #08319-2106A-000
Переключатель (Ref #5)
5
Part #57460-14J01-000
Болт (Ref #6)
6
Part #57465-17C00-000
GRIP,L (Ref #7)
7
Part #57211-21H01-000
Lever assy,clutch (Ref #8)
8
Part #57500-41G21-000
Рукоятка муфты (Ref #9)
9
Part #57621-41G00-000
BOLT,CLUTCH LEVER PIVOT (Ref #10)
10
Part #57431-41G00-000
Collar (Ref #11)
11
Part #57532-41G00-000
Гайка (Ref #12)
12
Part #08319-3106A-000
Переключатель муфты (Ref #13)
13
Part #57560-41G20-000
Болт (Ref #14)
14
Part #57562-41G21-000
Bolt (6x20) (Ref #15)
15
Part #01547-0620B-000
NUT,ADJUSTER (Ref #16)
16
Part #57641-33E21-000
Пружина (Ref #17)
17
Part #57644-33E00-000
SCREW,SPRING (Ref #18)
18
Part #57642-33E00-000
