Рычаг прогрессии (Gsx-R600L2 E28)
Рычаг прогрессии (Gsx-R600L2 E28)
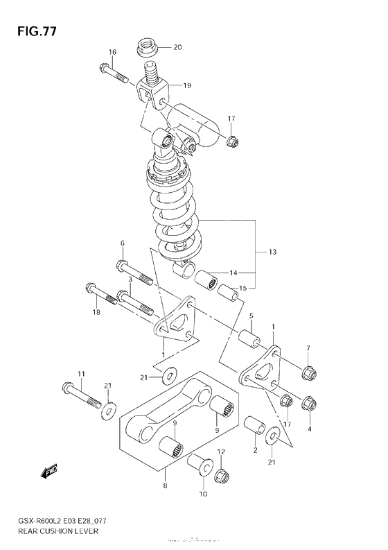
LEVER,RR CUSHION (Ref #1)
1
Part #62611-14J00-000
SPACER,RR CUSHION LEVER FR (Ref #2)
2
Part #62317-27C10-000
BOLT,RR CUSHION LEVER (Ref #3)
3
Part #62658-47H00-000
Гайка (Ref #4)
4
Part #09159-12056-000
SPACER,RR CUSHION LEVER FR (Ref #5)
5
Part #62317-44B00-000
ROD,RR CUSHION (Ref #8)
8
Part #62602-14860-000
BEARING(20X27X32) (Ref #9)
9
Part #09263-20116-000
SPACER,RR CUSHION ROD FR (Ref #10)
10
Part #62647-47H00-000
BOLT,RR CUSHION ROD (Ref #11)
11
Part #62621-47H00-000
ABSORBER ASSY,RR SHOCK (Ref #13)
13
Part #62100-14810-019
Подшипник верхний (Ref #14)
14
Part #09263-17046-000
SPACER,RR SHOCK ABS LWR (Ref #15)
15
Part #62317-47H00-000
Болт нижней опоры (Ref #16)
16
Part #09103-10143-000
Гайка (Ref #17)
17
Part #09159-10115-000
BOLT,RR SHOCK ABSORBER LWR (Ref #18)
18
Part #62313-47H00-000
BRACKET,RR SHOCK ABSORBER UPR (Ref #19)
19
Part #62993-47H00-000
NUT,RR SHOCK ABS BRACKET (Ref #20)
20
Part #62994-47H00-000
Шайба (Ref #21)
21
Part #09160-12037-000
-
909263-20074-000
BEARING(20X27X32)
2Replaced by 09263-20116-000 Доступно: Нет в наличии
