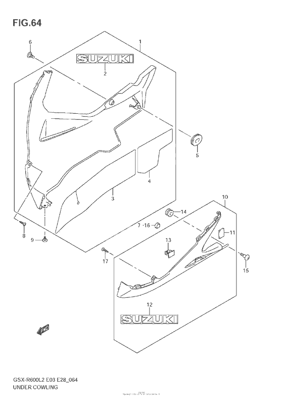
Нижний обтекатель
Нижний обтекатель
COWLING,UNDER,R(BLACK) (Ref #1)
1
Part #94470-14J00-4TX
COWLING,UNDER,R(WHITE) (Ref #1)
1
Part #94470-14J00-YBD
EMBLEM,SUZUKI,R (Ref #2)
2
Part #68181-33C20-19A
EMBLEM,SUZUKI (Ref #2)
2
Part #68181-33C20-019
SHIELD,UNDER COWL HEAT,R (Ref #3)
3
Part #94479-14J00-000
SHIELD,UNDER COWL HEAT,R (Ref #4)
4
Part #94479-14J10-000
CUSHION,UNDER COWLING,R (Ref #5)
5
Part #94478-14J00-000
SCREW,UNDER COWL,R (Ref #6)
6
Part #94476-14J00-000
САЙЛЕНТБЛОК (Ref #7)
7
Part #09321-10018-000
Болт (Ref #8)
8
Part #03541-0512A-000
КЛИПСА КРЕПЁЖНАЯ, ПЛАСТИК (Ref #9)
9
Part #94479-35F00-000
COWLING,UNDER,L(WHITE) (Ref #10)
10
Part #94480-14J00-YBD
COWLING,UNDER,L(BLACK) (Ref #10)
10
Part #94480-14J00-4TX
Валик (Ref #11)
11
Part #47161-10FA0-000
Хомут (Ref #13)
13
Part #09403-14311-000
Cushion (Ref #14)
14
Part #09320-09016-000
Болт (Ref #15)
15
Part #09139-06190-000
