Радиатор
Радиатор
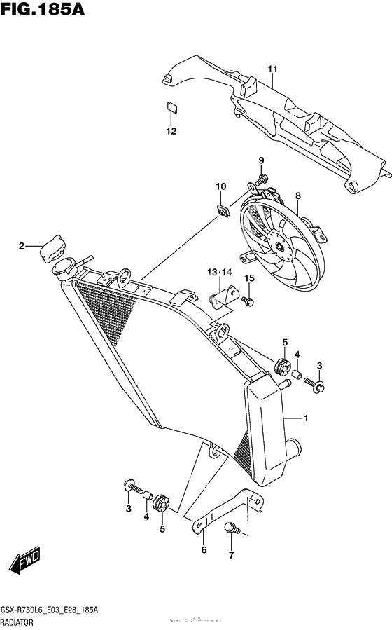
RADIATOR ASSY,WATER (Ref #1)
1
Part #17710-14J00-000
Стакан карбюратора (Ref #2)
2
Part #17730-14G00-000
Болт (Ref #3)
3
Part #09118-06097-000
Кольцо/шайба (Ref #4)
4
Part #09180-06290-000
САЙЛЕНТБЛОК (Ref #5)
5
Part #09320-10051-000
BRACKET,RADIATOR (Ref #6)
6
Part #17750-14J00-000
Bolt (Ref #7)
7
Part #01550-0612A-000
FAN ASSY,RADIATOR (Ref #8)
8
Part #17800-14J00-000
BOLT,FAN ASSY (Ref #9)
9
Part #17711-14G00-000
Гайка (Ref #10)
10
Part #17802-14F00-000
SHIELD,RADIATOR HEAT (Ref #11)
11
Part #17771-14J00-000
Уплотнение (Ref #12)
12
Part #61544-94500-000
BRACKET,RADIATOR UPR,R (Ref #13)
13
Part #17741-14J00-000
BRACKET,RADIATOR UPR,L (Ref #14)
14
Part #17742-14J00-000
Bolt (Ref #15)
15
Part #01550-0616A-000
-
-
Цена: 100.00 р.
Доступно: 3
-
