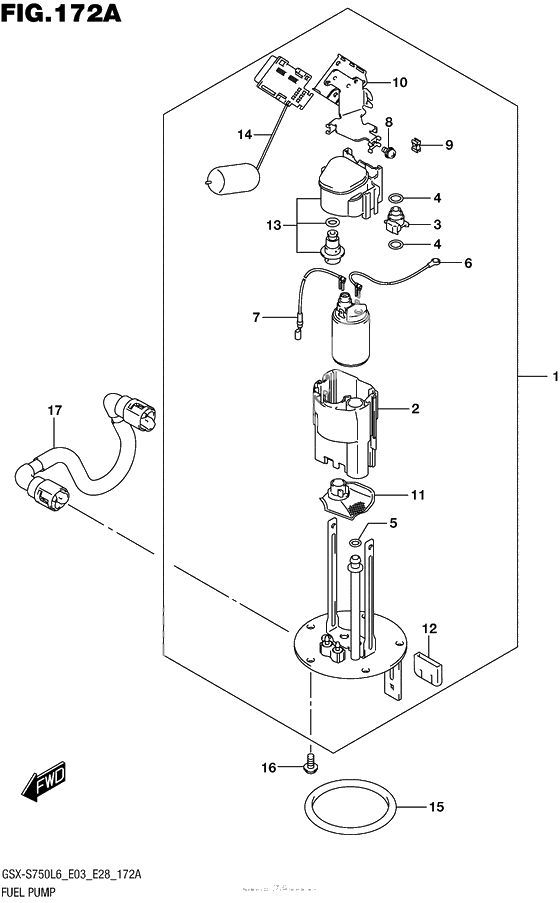
Fuel pump
Fuel pump
Pump assy,fuel (Ref #1)
1
Part #15100-08J01-000
CUP (Ref #2)
2
Part #15111-27G00-000
Соединитель (Ref #3)
3
Part #15112-05H00-000
O ring (Ref #4)
4
Part #15113-05H00-000
Кольцо уплотнительное (Ref #5)
5
Part #15113-35F00-000
WIRE,EARTH (Ref #6)
6
Part #15114-14J00-000
WIRE,LEAD (Ref #7)
7
Part #15115-08J00-000
Болт (Ref #8)
8
Part #15116-10F00-000
SADDLE,EDGE (Ref #9)
9
Part #15119-08J00-000
BRACKET,FUEL GAUGE (Ref #10)
10
Part #15181-08J00-000
Фильтр топливный (Ref #11)
11
Part #15420-05H00-000
CAP,STAY (Ref #12)
12
Part #15583-18H00-000
Регулятор давления топлива (Ref #13)
13
Part #15610-14J00-000
GAUGE ASSY,FUEL LEVEL SENDER (Ref #14)
14
Part #34810-08J10-000
O RING,FUEL PUMP (Ref #15)
15
Part #15201-35F00-000
Болт (Ref #16)
16
Part #07120-0612A-000
Hose,fuel (Ref #17)
17
Part #15810-15H01-000
-
-
Цена: 3 490.00 р.
Доступно: 1
-
