Воздушный фильтр
Воздушный фильтр
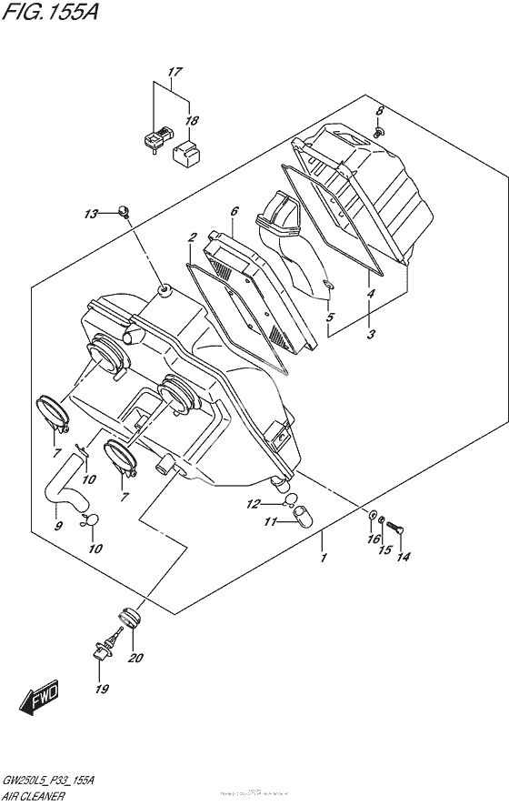
CLEANER ASSY,AIR (Ref #1)
1
Part #13700-48H03-000
GASKET,AIR CLEANER (Ref #2)
2
Part #13746-48H00-000
CAP,AIR CLEANER (Ref #3)
3
Part #13740-48H00-000
TUBE,INLET (Ref #5)
5
Part #13891-48H00-000
Filter assy (Ref #6)
6
Part #13780-48H00-000
Clamp (Ref #7)
7
Part #13826-48H00-000
Винт 5X12 (Ref #8)
8
Part #02142-0512A-000
TUBE,BREATHER (Ref #9)
9
Part #13853-48H00-000
Clip (Ref #10)
10
Part #09401-15101-000
Plug,drain (Ref #11)
11
Part #13878-48H00-000
ХОМУТ МАЛЫЙ (Ref #12)
12
Part #09401-14101-000
Болт (Ref #13)
13
Part #01550-0610A-000
Bolt (Ref #14)
14
Part #01500-0620A-000
Пластина замка (Ref #15)
15
Part #08321-0106A-000
WASHER(6.5X20X1.6) (Ref #16)
16
Part #09160-06088-000
Датчик прессуры (Ref #17)
17
Part #15630-29G20-000
Cover (Ref #18)
18
Part #15625-29G10-000
Сенсор температуры воздуха (Ref #19)
19
Part #13650-52G00-000
GROMMET,AIR TEMP SENSOR (Ref #20)
20
Part #13655-77E00-000
-
113700-48H02-000
CLEANER ASSY,AIR
1Replaced by 13700-48H03-000 Доступно: Нет в наличии
-
-
Цена: 7 460.00 р.
Доступно: 3
-
