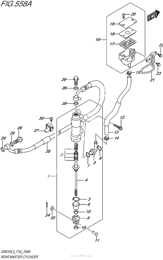
Задний тормозной цилиндр
Задний тормозной цилиндр
CYLINDER ASSY,RR MASTER (Ref #1)
1
Part #69600-48H00-000
PISTON/CUP SET (Ref #2)
2
Part #69600-34810-000
Circlip (Ref #3)
3
Part #69665-47H00-000
Штанга (Ref #4)
4
Part #69670-24A00-000
Коннектор (Ref #5)
5
Part #69672-00B20-000
Circlip (Ref #6)
6
Part #69674-00B20-000
Кольцо уплотнительное (Ref #7)
7
Part #69686-34200-000
Ботинок (Ref #8)
8
Part #69691-00A00-000
Ботинок (Ref #9)
9
Part #69692-44H00-000
Гайка (Ref #10)
10
Part #69693-05A00-000
Pin (Ref #11)
11
Part #69697-48H00-000
Bolt (Ref #12)
12
Part #69698-48H00-000
HOSE,RR RESERVOIR TANK (Ref #13)
13
Part #69730-48H00-000
CLIP,RR RSVR TANK HOSE LWR (Ref #14)
14
Part #69735-48H00-000
CLIP,RR RSVR TANK HOSE UPR (Ref #15)
15
Part #69735-48H10-000
TANK ASSY,RR RESERVOIR (Ref #16)
16
Part #69740-48H20-000
Diaphragm (Ref #17)
17
Part #59667-04700-000
Пластина (Ref #18)
18
Part #59668-14F00-000
Cap (Ref #19)
19
Part #59669-48H20-000
Болт (Ref #20)
20
Part #69689-48H00-000
Guard,rr reservoir tank (Ref #21)
21
Part #69760-48H20-000
Болт (Ref #22)
22
Part #01547-0612A-000
Болт (Ref #23)
23
Part #01547-0620A-000
20 x 15 cotter (Ref #24)
24
Part #04111-2015A-000
Шайба (Ref #25)
25
Part #08322-0106A-000
BOLT,BRAKE FLUID (Ref #26)
26
Part #59492-48H00-000
GUIDE,RR BRAKE HOSE (Ref #27)
27
Part #61196-48H00-000
HOSE,RR BRAKE (Ref #28)
28
Part #69480-48H00-000
WASHER,BRAKE FLUID (Ref #29)
29
Part #59464-48H00-000
Болт (Ref #30)
30
Part #02142-0616A-000
-
2169760-48H10-000
Guard,rr reservoir tank
1Replaced by 69760-48H20-000 Доступно: Нет в наличии
