Поворотники
Поворотники
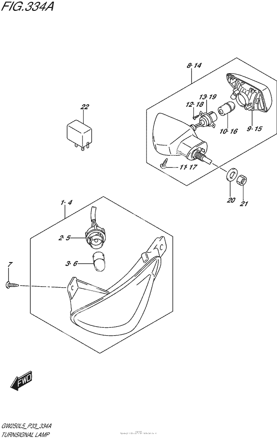
Поворотник передний, правый (Ref #1)
1
Part #35601-48H30-000
CORD (Ref #2)
2
Part #35618-48H00-000
BULB(12V10W,AMBER) (Ref #3)
3
Part #09471-12226-000
Поворотник передний, левый (Ref #4)
4
Part #35602-48H30-000
CORD (Ref #5)
5
Part #35638-48H00-000
Болт (Ref #7)
7
Part #03541-0516A-000
Lamp assy,rear turnsignal,r (Ref #8)
8
Part #35603-48H03-000
LAMP UNIT,R (Ref #9)
9
Part #35650-48H01-000
Болт (Ref #11)
11
Part #03241-0412A-000
Болт (Ref #12)
12
Part #35623-48H00-000
CORD,R (Ref #13)
13
Part #35658-48H00-000
Lamp assy,rear turnsignal,l (Ref #14)
14
Part #35604-48H03-000
LAMP UNIT,L (Ref #15)
15
Part #35670-48H01-000
CORD,L (Ref #19)
19
Part #35678-48H00-000
WASHER,RR TURNSIGNAL LAMP (Ref #20)
20
Part #35679-48H00-000
Гайка (Ref #21)
21
Part #08310-0010A-000
Relay assy, turnsignal (Ref #22)
22
Part #38610-26H03-000
-
2238610-26H02-000
RELAY ASSY,TURNSIGNAL LAMP
1Replaced by 38610-26H03-000 Доступно: Нет в наличии
