Muffler comp
Muffler comp
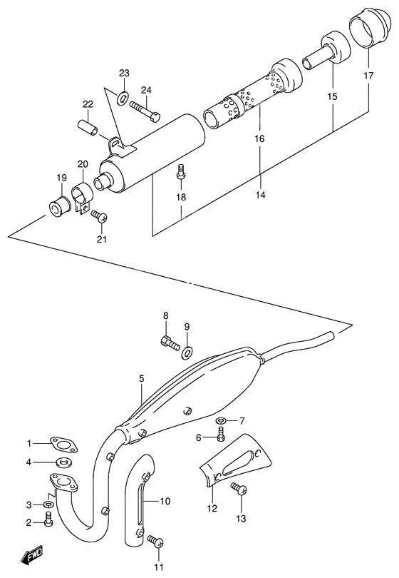
Прокладка трубы (Ref #1)
1
Part #14181-04200-000
Болт (Ref #2)
2
Part #07130-0616B-000
Болт (Ref #2)
2
Part #07130-0616A-000
Пластина замка (Ref #3)
3
Part #08321-0106A-000
PLATE,EXHAUST PIPE (Ref #4)
4
Part #14159-04410-000
Muffler assy (Ref #5)
5
Part #14301-04420-H01
Болт (Ref #6)
6
Part #01500-0610B-000
Шайба (Ref #7)
7
Part #08322-0106B-000
Bolt (Ref #8)
8
Part #01570-0816A-000
Шайба (Ref #9)
9
Part #09160-08054-000
COVER,EXHAUST PIPE (Ref #10)
10
Part #14186-04410-000
Screw, plug (Ref #11)
11
Part #02112-0506B-000
Крышка глушителя (Ref #12)
12
Part #14781-04410-000
MUFFLER ASSY,2ND (Ref #14)
14
Part #14303-04420-H01
PIPE,BAFFLE (Ref #15)
15
Part #14510-04420-000
ARRESTER (Ref #16)
16
Part #14850-04420-000
CUTTER,MUFFLER TAIL (Ref #17)
17
Part #14817-04420-000
Болт (Ref #18)
18
Part #02112-3612A-000
Болт (Ref #18)
18
Part #02112-3612B-000
CONNECTOR,MUFFLER (Ref #19)
19
Part #14771-04410-000
Clamp (Ref #20)
20
Part #09402-22601-000
Болт (Ref #21)
21
Part #02112-0616B-000
Болт (Ref #21)
21
Part #02112-0616A-000
SPACER,2ND MUF SPRT (Ref #22)
22
Part #14419-04420-000
Шайба (Ref #23)
23
Part #08322-0108B-000
*08322-11083 (Ref #23)
23
Part #08322-0108A-000
Bolt (Ref #24)
24
Part #01500-08453-000
-
308321-01063-000
Шайба, стопорная
2Replaced by 08321-0106A-000 Доступно: Нет в наличии
