Передний тормозной цилиндр (Rm85L5 P28)
Передний тормозной цилиндр (Rm85L5 P28)
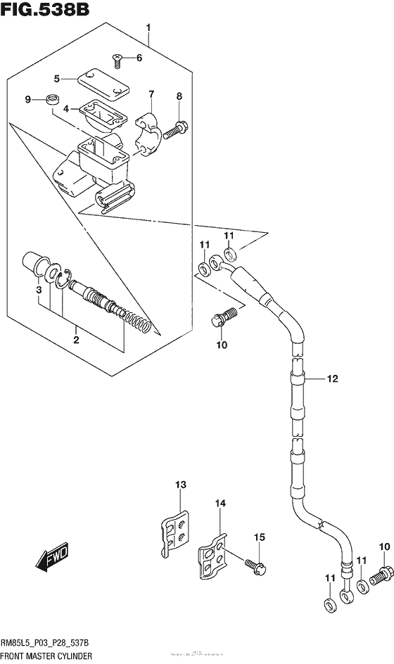
CYLINDER ASSY,FR MASTER (Ref #1)
1
Part #59600-37F00-000
Ремкомплект машинки (Ref #2)
2
Part #59600-37810-000
Ботинок (Ref #3)
3
Part #59666-44300-000
Диафрагма (Ref #4)
4
Part #59667-14500-000
Cap (Ref #5)
5
Part #59669-27C01-000
Болт (Ref #6)
6
Part #69689-49300-000
Holder (Ref #7)
7
Part #59671-27C00-000
Болт крепёжный (Ref #8)
8
Part #59675-06F00-000
Сепаратор (Ref #9)
9
Part #59748-36E00-000
Bolt (Ref #10)
10
Part #09360-10062-000
Шайба (Ref #11)
11
Part #09161-10009-000
HOSE,FR BRAKE (Ref #12)
12
Part #59480-03B81-000
CLAMP,FR BRAKE HOSE INNER (Ref #13)
13
Part #59260-03B00-000
CLAMP,FR BRAKE OUTER (Ref #14)
14
Part #59271-03B00-000
Болт (Ref #15)
15
Part #01547-0616A-000
